Здравствуйте.
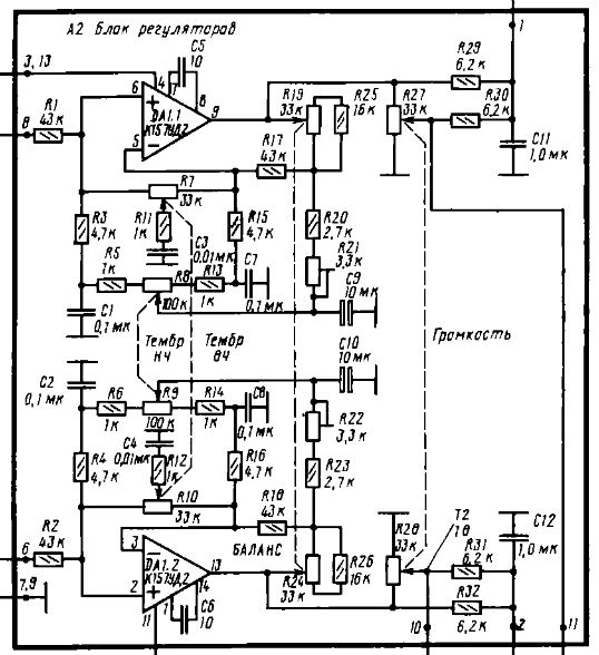
Предусилитель от электрофона Вега-109-стерео поставлен на другой усилитель и в нём необходимо сделать раздельную регулировку уровня каналов, вместо баланса.
Вопрос, собственно в том, как исключить регулятор баланса каналов или как использовать посадочное место под этот регулятор с целью реализовать раздельную регулировку. Прилагаю схему и печатку.
![]()
![]()





Социальные закладки