Страница 1 из 2 12 Последняя
Показано с 1 по 20 из 37

Тема: Параллельное (последовательное?) включение трансформаторов

  1. #1
    Зарегистрировался
    Автор темы

    Регистрация
    03.01.2006
    Адрес
    Санкт-Петербург
    Возраст
    57
    Сообщений
    1,171

    По умолчанию Параллельное (последовательное?) включение трансформаторов

    Задача такая - есть 2 одинаковых трансформатора средней мощности (примерно во 100Вт), которые по отдельности не потянут питание усилителя.
    ВЖ4.700.041-01

    Поскольку усилитель промышленный, одноплатный и организовать раздельное питание для каждого канала сопряжено с глобальной реконструкцией, то остается один вариант - суммировать мощность обоих трансформаторов. Цель - получение выхода 2х36В со средней точкой.
    Буду признателен за рекомендации по организации грамотного подключения 2-х трансформаторов.

    Во вложении - табличка с результатами замеров на ХХ.
    Вложения Вложения

  2. #2
    Завсегдатай Аватар для mAxSpace
    Регистрация
    19.05.2008
    Адрес
    Москва
    Сообщений
    18,922

    По умолчанию Re: Параллельное (последовательное?) включение трансформаторов

    Я бы попробовал просто в параллель обмотки с более близкими напряжениями, потом проконтролировать эти, назовём их "межтрансформаторные", токи и если они незначительны то так и оставить.
    Второй вариант - на каждый транс свой диодный мост, а соединять уже выводы плюсы с плюсами, минусы с минусами, конденсаторы общие.

  3. #3
    Зарегистрировался
    Автор темы

    Регистрация
    03.01.2006
    Адрес
    Санкт-Петербург
    Возраст
    57
    Сообщений
    1,171

    По умолчанию Re: Параллельное (последовательное?) включение трансформаторов

    Вариант со вторым мостом отпадает - невозможно по конструктивным причинам.

  4. #4
    Завсегдатай Аватар для Arena
    Регистрация
    18.09.2008
    Адрес
    г.Минск
    Возраст
    42
    Сообщений
    1,099

    По умолчанию Re: Параллельное (последовательное?) включение трансформаторов

    В Ямаху? Лучше не заниматься лепкой "из того, что под рукой" а купить транс с нужными параметрами. Это не настолько дорого выйдет. Зато надежно. А с двумя трансами одно неосторожное подключение обмоток - и привет усилку. ИМХО.

    Это если себе как временную меру так можно применить. А если клиенту - не надо. Нужно делать надежно.
    "Мистер Андерсон, зачем, зачем Вы каждый день ходите на работу ?"(с) матрица

  5. #5
    Зарегистрировался
    Автор темы

    Регистрация
    03.01.2006
    Адрес
    Санкт-Петербург
    Возраст
    57
    Сообщений
    1,171

    По умолчанию Re: Параллельное (последовательное?) включение трансформаторов

    Пока как временная мера. Делаю для себя, с неосторожным подключением обмоток еще ни разу приключений не было - перемеряю-перепроверяю все по 7 раз.
    Купить (изготовить) транс с нужными параметрами сложно - тор не подойдет по габаритам, остальные тоже немаленькие. Попадется ТПП-323 - поставлю, но целенаправленно искать его нет времени.

    ---------- Добавлено в 18:12 ---------- Предыдущее сообщение в 18:11 ----------

    Цитата Сообщение от mAxSpace Посмотреть сообщение
    проконтролировать эти, назовём их "межтрансформаторные", токи и если они незначительны то так и оставить.
    Как проконтролировать и что делать, если значительны?

  6. #6
    Завсегдатай Аватар для Vovk
    Регистрация
    24.12.2004
    Адрес
    Зеленьій клин
    Возраст
    46
    Сообщений
    2,855

    По умолчанию Re: Параллельное (последовательное?) включение трансформаторов

    Цитата Сообщение от LoneWolf_SPb Посмотреть сообщение
    и что делать, если значительны?
    Ничего. Ничего страшного не будет, да и сильно значительны они не будут. Тем более - сами говорите - временная мера.

  7. #7
    Завсегдатай Аватар для mAxSpace
    Регистрация
    19.05.2008
    Адрес
    Москва
    Сообщений
    18,922

    По умолчанию Re: Параллельное (последовательное?) включение трансформаторов

    Цитата Сообщение от LoneWolf_SPb Посмотреть сообщение
    Как проконтролировать и что делать, если значительны?
    Милиамперметром переменного тока.
    Если значительны, то и первый вариант отпадает.
    Есть ещё один вариант, но тогда суммарное сечение обмоток не станет больше вдвое как при параллельном соединении, если это устроит то нарисую.

  8. #8
    Завсегдатай Аватар для Turbo_man
    Регистрация
    06.04.2010
    Адрес
    Moscow
    Сообщений
    5,761

    По умолчанию Re: Параллельное (последовательное?) включение трансформаторов

    Цитата Сообщение от LoneWolf_SPb Посмотреть сообщение
    Вариант со вторым мостом отпадает - невозможно по конструктивным причинам.
    Трудно себе представить серьёзную проблему в этом. Почему?

  9. #9
    Завсегдатай Аватар для mAxSpace
    Регистрация
    19.05.2008
    Адрес
    Москва
    Сообщений
    18,922

    По умолчанию Re: Параллельное (последовательное?) включение трансформаторов

    Кстати, имел опыт : несколько раз пытался добавить мощи посредством параллельного соединения трансов именно с развязкой через диодный мост - добавка выходила менее 5...10% в одном случае это два канала по 12ватт от транса 30 ватт - к ним добавлялся трансик на 30ватт
    в другом два по 100ватт от транса около 320ватт - к нему добавлял транс 500 ватт - на слух вообще никакой разницы.

  10. #10
    Не хочу! Аватар для Alex
    Регистрация
    20.03.2003
    Адрес
    Worldwide
    Возраст
    63
    Сообщений
    39,056

    По умолчанию Re: Параллельное (последовательное?) включение трансформаторов

    Цитата Сообщение от mAxSpace Посмотреть сообщение
    эти, назовём их "межтрансформаторные",
    Это называется "уравнительные токи"

    ---------- Добавлено в 17:59 ---------- Предыдущее сообщение в 17:57 ----------

    Цитата Сообщение от mAxSpace Посмотреть сообщение
    несколько раз пытался добавить мощи посредством параллельного соединения трансов именно с развязкой через диодный мост - добавка выходила менее 5...10%
    Ну по моему - это должно быть совершенно понятно, почему так происходит. Хорошие трансы были, если 5-10% было, чаще всего :


    Цитата Сообщение от mAxSpace Посмотреть сообщение
    вообще никакой разницы.
    "Замполит, чайку?"(с)"Охота за Красным Октябрем".
    "Да мне-то что, меняйтесь!"(с)анек.
    <-- http://altor1.narod.ru --> Вопросы - в личку, е-мейл, скайп.

  11. #11
    Зарегистрировался
    Автор темы

    Регистрация
    03.01.2006
    Адрес
    Санкт-Петербург
    Возраст
    57
    Сообщений
    1,171

    По умолчанию Re: Параллельное (последовательное?) включение трансформаторов

    Цитата Сообщение от Turbo_man Посмотреть сообщение
    Трудно себе представить серьёзную проблему в этом. Почему?
    Вешать мост на соплях, а потом тянуть через весь корпус ко второму мосту провода? Рядом с родным второй мост не разместить.

  12. #12
    Завсегдатай Аватар для mAxSpace
    Регистрация
    19.05.2008
    Адрес
    Москва
    Сообщений
    18,922

    По умолчанию Re: Параллельное (последовательное?) включение трансформаторов

    Цитата Сообщение от mAxSpace Посмотреть сообщение
    но тогда суммарное сечение обмоток не станет больше вдвое как при параллельном соединении
    Хотя почему .....
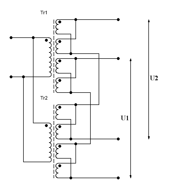
    Можно и с увеличением сечения вдвое, вот например.
    Миниатюры Миниатюры Нажмите на изображение для увеличения. 

Название:	Включение двух &#1.GIF 
Просмотров:	737 
Размер:	7.9 Кб 
ID:	141911  

  13. #13
    Завсегдатай Аватар для mAxSpace
    Регистрация
    19.05.2008
    Адрес
    Москва
    Сообщений
    18,922

    По умолчанию Re: Параллельное (последовательное?) включение трансформаторов

    Хотя нет, не прокатит, в этих трансформаторах обмотки с отводом от середины

  14. #14
    Зарегистрировался
    Автор темы

    Регистрация
    03.01.2006
    Адрес
    Санкт-Петербург
    Возраст
    57
    Сообщений
    1,171

    По умолчанию Re: Параллельное (последовательное?) включение трансформаторов

    Цитата Сообщение от mAxSpace Посмотреть сообщение
    Хотя нет, не прокатит, в этих трансформаторах обмотки с отводом от середины
    Отвод не задействуется.

  15. #15
    Завсегдатай Аватар для mAxSpace
    Регистрация
    19.05.2008
    Адрес
    Москва
    Сообщений
    18,922

    По умолчанию Re: Параллельное (последовательное?) включение трансформаторов

    В том и дело что нужны раздельные обмотки, чтоб из половинки обмотки одного транса и половинки другого получалась одна обмотка, это лучше чем просто параллельно.

  16. #16
    Зарегистрировался
    Автор темы

    Регистрация
    03.01.2006
    Адрес
    Санкт-Петербург
    Возраст
    57
    Сообщений
    1,171

    По умолчанию Re: Параллельное (последовательное?) включение трансформаторов

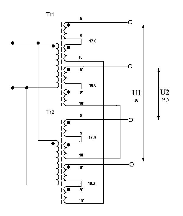
    На каждом трансе 4 отдельные вторички, 5-7,8-10,5*-7*,8*-10*.

    5-6, 5*-6* по 103 витка, диаметр провода 0,355мм.
    6-7, 6*-7* по 6 витков, диаметр провода 0,355мм.
    8-9, 8*-9* по 105 витков, диаметр провода 1,2мм.
    9-10, 9*-10* по 3 витка, диаметр провода 1,2мм.
    Последний раз редактировалось LoneWolf_SPb; 11.12.2011 в 00:08.

  17. #17
    Завсегдатай Аватар для mAxSpace
    Регистрация
    19.05.2008
    Адрес
    Москва
    Сообщений
    18,922

    По умолчанию Re: Параллельное (последовательное?) включение трансформаторов

    Цитата Сообщение от LoneWolf_SPb Посмотреть сообщение
    5-6, 5*-6* по 103 витка, диаметр провода 0,355мм.
    6-7, 6*-7* по 6 витков, диаметр провода 0,355мм.
    Эти как силовые не годятся.

  18. #18
    Зарегистрировался
    Автор темы

    Регистрация
    03.01.2006
    Адрес
    Санкт-Петербург
    Возраст
    57
    Сообщений
    1,171

    По умолчанию Re: Параллельное (последовательное?) включение трансформаторов

    Понятно,что не потянут. Львиная доля мощности реализуется на обмотках 8-10, вот и думаю, как с ними разобраться.

  19. #19
    Завсегдатай Аватар для Vjumajlo
    Регистрация
    11.04.2009
    Адрес
    ДВР
    Возраст
    64
    Сообщений
    4,276

    По умолчанию Re: Параллельное (последовательное?) включение трансформаторов

    Максим, извини - я немного побезобразничал с твоей схемкой.

    Андрей, может быть так по лудьчше будет.
    Нажмите на изображение для увеличения. 

Название:	Тр1 + Тр2.GIF 
Просмотров:	1491 
Размер:	8.8 Кб 
ID:	141932

    И напруги практитьцски одинаковые, и пофих на всякие межобмоточные перетоки.
    В голове есть не только рот, чтобы говорить и есть, но и мозг, чтобы хоть иногда вспоминать, что он там есть.
    Думай. Думай всегда…
    И даже, если нечем думать, напрягись - мысль обязательно появится. Иначе ты никто. (Вова)

  20. #20
    Завсегдатай Аватар для Pyku_He_oTTyda
    Регистрация
    22.06.2005
    Адрес
    Москва
    Возраст
    52
    Сообщений
    4,611

    По умолчанию Re: Параллельное (последовательное?) включение трансформаторов

    Андрей, а родной трансформатор нельзя починить?
    А тор боком совсем никак не загнать? Хотя бы с резкой днища?
    А то колхоз какой то получается...
    Андрей

Страница 1 из 2 12 Последняя

Социальные закладки

Социальные закладки

Ваши права

  • Вы не можете создавать новые темы
  • Вы не можете отвечать в темах
  • Вы не можете прикреплять вложения
  • Вы не можете редактировать свои сообщения
  •