Показано с 1 по 5 из 5

Тема: Вопрос по коммутации сигнала в полном УМЗЧ

  1. #1
    Регистрация не подтверждена
    Автор темы

    Регистрация
    24.10.2014
    Адрес
    Ульяновская область
    Возраст
    39
    Сообщений
    297

    По умолчанию Вопрос по коммутации сигнала в полном УМЗЧ

    Здравствуйте!

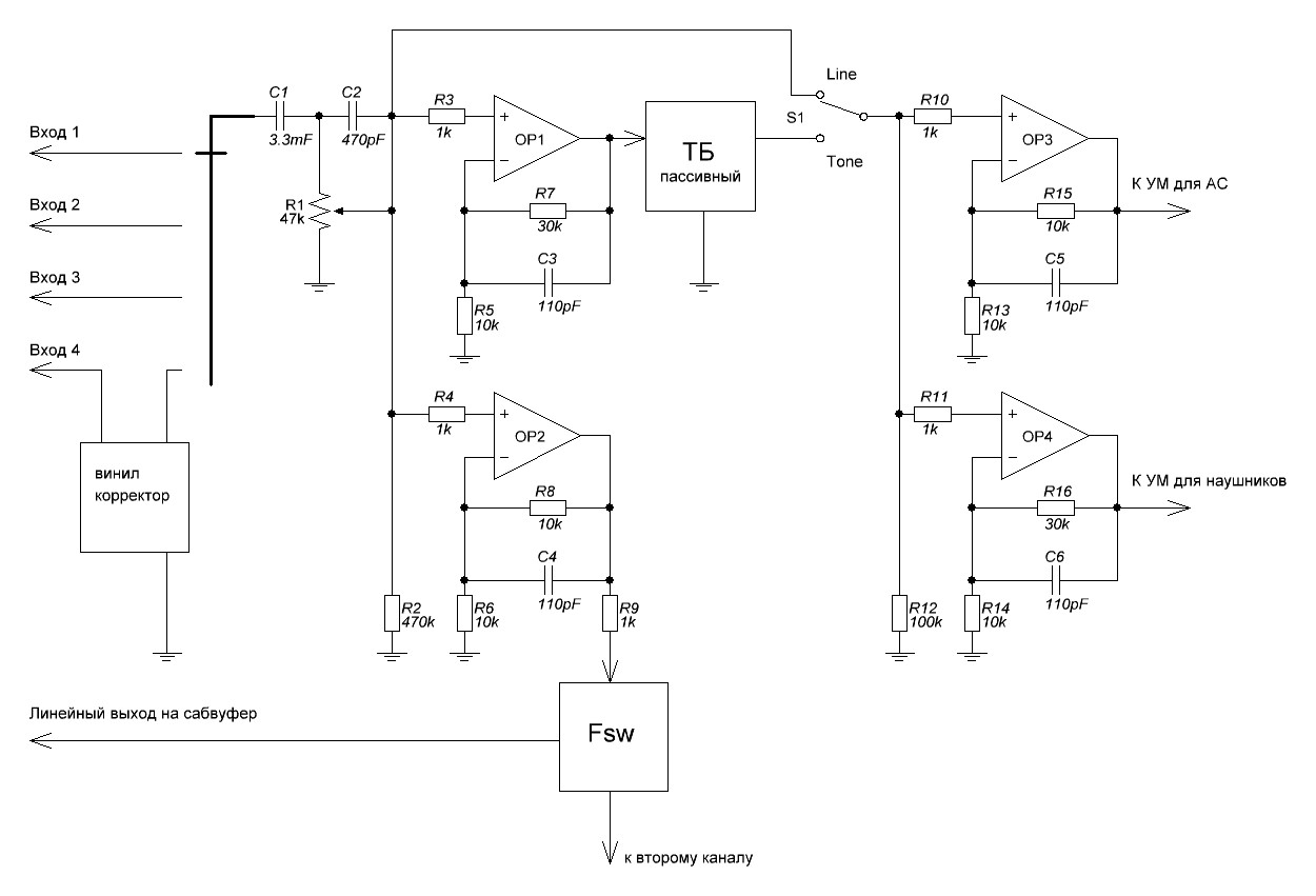
    Собираю полный стерео усилитель. Вот что он в себе будет содержать:
    .Собственно сам Усилитель.(Lm1875 инверт+буфер на OPA2134)
    .Усилитель для наушников (повторитель Семынина)
    .Пассивный тэмброблок, отключаемый.
    .Винил корректор (пока в только в планах на счёт схемы)
    .Фильтр для подключения активного сабвуфера


    Собственно для согласования всего этого начеркал вот такую схемку, ваши замечания?
    Какие ОУ лучше применять? Ну или ещё какие рекомендации.

    Так как усилитель на LM двойное моно и запитан от двух разных источников (земли соединены на входе), то планирую питание преда тоже запитать так же отдельно по каналам, но вопрос, как лучше запитать фильтр саба? Повторитель для ушей запитан от своего источника.
    И ещё как лучше отключить звук в колонках при подключении наушников? Только не через выходной разьём!

    Зарание спасибо.
    Миниатюры Миниатюры Нажмите на изображение для увеличения. 

Название:	пред.JPG 
Просмотров:	878 
Размер:	89.6 Кб 
ID:	234553  

  2. #2
    Не хочу! Аватар для Alex
    Регистрация
    20.03.2003
    Адрес
    Worldwide
    Возраст
    63
    Сообщений
    39,122

    По умолчанию Re: Вопрос по коммутации сигнала в полном УМЗЧ

    Цитата Сообщение от Dielx Посмотреть сообщение
    Ну или ещё какие рекомендации.
    Для начала - расскажи для чего в этой схеме нужны R2, R3, R4, R9, R10, R11, R12, C1, C2, C3, C4, C5, C6 ?


    Цитата Сообщение от Dielx Посмотреть сообщение
    И ещё как лучше отключить звук в колонках при подключении наушников? Только не через выходной разьём!
    Ну так отключи сигнал от ОР3.
    "Замполит, чайку?"(с)"Охота за Красным Октябрем".
    "Да мне-то что, меняйтесь!"(с)анек.
    <-- http://altor1.narod.ru --> Вопросы - в личку, е-мейл, скайп.

  3. #3
    Регистрация не подтверждена
    Автор темы

    Регистрация
    24.10.2014
    Адрес
    Ульяновская область
    Возраст
    39
    Сообщений
    297

    По умолчанию Re: Вопрос по коммутации сигнала в полном УМЗЧ

    Цитата Сообщение от Alex Посмотреть сообщение
    Для начала - расскажи для чего в этой схеме нужны R2, R3, R4, R9, R10, R11, R12, C1, C2, C3, C4, C5, C6 ?
    R3.4.10.11 в принципе и не нужны
    R2.12 дабы не ловить наводки на проводах от платы тембров и рег. громкости, ну и c R2 если регулятор паршивенький попадётся хоть немного поможет(хотя паршивенький не буду ставить). А вообще цель этого резистора была, что бы хоть как то приблизить характеристику регулятора к логарифмической (хотя номинал тогда нужно меньше конечно). Потому как в наличии одни линейные.
    C3, C4, C5, C6 чисто теоретически от возбуда.
    С1 от постоянки, мало ли что воткнут домашние в разьём =)
    С2 небольшая компенсация по ВЧ (в принципе тоже не нужна).

    Перебздел малость, признаю...
    Хорошо хоть про R1 не спросили, а то на одном из форумов читал как человек утверждал, что регулятор громкости зло и слушать надо с тем уровнем с каким записано. Хорошо хоть тут людей страдающих аудиофилией нет вроде...

  4. #4
    Не хочу! Аватар для Alex
    Регистрация
    20.03.2003
    Адрес
    Worldwide
    Возраст
    63
    Сообщений
    39,122

    По умолчанию Re: Вопрос по коммутации сигнала в полном УМЗЧ

    Да там все что я перечислил, не нужно
    Насчет наводок - монтаж надо нормально делать, вот и не будет наводок!
    про регулятор громкости я не писал, это да, а что про него писать? Для усилителя такого уровня, сойдет и 47к.
    "Замполит, чайку?"(с)"Охота за Красным Октябрем".
    "Да мне-то что, меняйтесь!"(с)анек.
    <-- http://altor1.narod.ru --> Вопросы - в личку, е-мейл, скайп.

  5. #5
    Регистрация не подтверждена
    Автор темы

    Регистрация
    24.10.2014
    Адрес
    Ульяновская область
    Возраст
    39
    Сообщений
    297

    По умолчанию Re: Вопрос по коммутации сигнала в полном УМЗЧ

    Цитата Сообщение от Alex Посмотреть сообщение
    сойдет и 47к.
    Ну это понятно дело, что чем меньше тем лучше,видел люди ставят и несколко сотен Ом, но опять же его согласовывать надо. Оптимально 10k. Схему то рисовал на скорую руку для общего представления, номиналы можно изменить в любой момент.

Социальные закладки

Социальные закладки

Ваши права

  • Вы не можете создавать новые темы
  • Вы не можете отвечать в темах
  • Вы не можете прикреплять вложения
  • Вы не можете редактировать свои сообщения
  •