Страница 21 из 41 Первая ... 11192021222331 ... Последняя
Показано с 401 по 420 из 807

Тема: Трехполосная АС с двумя НЧ SEAS.

  1. #1 Показать/скрыть первое сообщение.
    Завсегдатай
    Автор темы
    Аватар для George Krilov
    Регистрация
    14.05.2006
    Адрес
    Москва
    Возраст
    70
    Сообщений
    6,553

    По умолчанию Трехполосная АС с двумя НЧ SEAS.

    Описания пока нет, но загрузил схему фильтра, эскиз корпуса и фото в папку:
    http://krilovlab.com/2x1215/

    Фото с выставки РХЭ 2015 (не мои):
    http://s016.radikal.ru/i336/1511/c8/04d77f04dc48.jpg
    http://s020.radikal.ru/i719/1511/ce/fac7ed4c9a95.jpg
    Особенность данной АС - первые электрические и акустические порядки снизу и первый электрический сверху на СЧ.
    Появилась возможность подключить басовики без переполюсовки.


    Графики АЧХ и импедансов динамиков и системы:
    drivers_z - импеданс динамиков;
    tw_mid_spl - АЧХ пищалки и мида;
    woofers_spl - АЧХ верхнего и нижнего басовиков;
    sys_spl_1m - АЧХ системы по оси твитера и на 10см выше оси;
    sys_z - импеданс системы.

    Дополнение от 25.11.2015:
    Поправил еще фильтр. Там на пищалке стоял еще один гасящий резистор 0.82 Ом. Мне показалось, правда, что у меня дома верха чуть мало. На выставке с кафелем, вроде, играло нормально.

    Дополнение от 19.06.2018:
    Сделал еще одну пару, изменил (упростил) корпус, и немного поменял фильтр.

    Дополнение от 19.03.2016:
    Добавил последнюю версию фильтра - 2017 года.

    Последний раз редактировалось George Krilov; 19.05.2018 в 09:20.
    Георгий Крылов

  2. #401
    Завсегдатай
    Автор темы
    Аватар для George Krilov
    Регистрация
    14.05.2006
    Адрес
    Москва
    Возраст
    70
    Сообщений
    6,553

    По умолчанию Re: Трехполосная АС с двумя НЧ SEAS.

    Я еще сделал подставку под них крашеную черную, которая немного назад отклоняет, но даже не распаковывал. Если успею, то на РХЭ поставлю.
    Георгий Крылов

  3. #402
    Завсегдатай Аватар для nikolayms
    Регистрация
    14.06.2006
    Адрес
    г. Первоуральск (рядом с Екатеринбургом)
    Возраст
    45
    Сообщений
    2,874

    По умолчанию Re: Трехполосная АС с двумя НЧ SEAS.


    Offтопик:
    Цитата Сообщение от George Krilov Посмотреть сообщение
    то на РХЭ поставлю.
    Эх, не послушаю я в этом году ваш стенд. Мой усилок только в следующем году готов будет к РХЭ.
    ВейвКорп - это тоже я.

  4. #403
    Завсегдатай Аватар для BlackRoger
    Регистрация
    16.05.2011
    Адрес
    Россия
    Возраст
    44
    Сообщений
    1,100

    По умолчанию Re: Трехполосная АС с двумя НЧ SEAS.

    Цитата Сообщение от nikolayms Посмотреть сообщение
    Эх, не послушаю я в этом году ваш стенд. Мой усилок только в следующем году готов будет к РХЭ.
    Так у Георгия свой усилитель есть.

  5. #404
    Завсегдатай Аватар для nikolayms
    Регистрация
    14.06.2006
    Адрес
    г. Первоуральск (рядом с Екатеринбургом)
    Возраст
    45
    Сообщений
    2,874

    По умолчанию Re: Трехполосная АС с двумя НЧ SEAS.

    Цитата Сообщение от BlackRoger Посмотреть сообщение
    свой усилитель есть
    не сомневаюсь.
    ВейвКорп - это тоже я.

  6. #405
    Завсегдатай Аватар для Анатолий Тимофеев
    Регистрация
    08.07.2008
    Адрес
    Тихвин/СПБ, Russia
    Возраст
    49
    Сообщений
    1,645

    По умолчанию Re: Трехполосная АС с двумя НЧ SEAS.

    Георгий, можете что-то уже сказать о звуке АС на Сатори? Как Вам их пищалка? Как в целом СЧ по сравнению и Ревелятором?
    С Уважением, Анатолий.

  7. #406
    Завсегдатай
    Автор темы
    Аватар для George Krilov
    Регистрация
    14.05.2006
    Адрес
    Москва
    Возраст
    70
    Сообщений
    6,553

    По умолчанию Re: Трехполосная АС с двумя НЧ SEAS.

    Пока ничего не могу сказать.
    Пищалка ровная. Очень мягкое покрытие фланца - царапается ногтем. Средник сильно кривой с дыркой в конце поршневого режима.
    Георгий Крылов

  8. #407
    Завсегдатай Аватар для Nikolav
    Регистрация
    30.05.2005
    Адрес
    Воронеж
    Сообщений
    2,196

    По умолчанию Re: Трехполосная АС с двумя НЧ SEAS.


    Offтопик:
    Акустика на Сатори достойна отдельной ветки.
    Камрады, я понимаю что всем невтерпёж, но давайте дождёмся финала работ и Георгий создаст отдельную ветку.


    ---------- Сообщение добавлено 14:44 ---------- Предыдущее сообщение было 14:43 ----------

    А там мы его запытаем
    E=mc^2 ± 3 dB

  9. #408
    Частый гость
    Регистрация
    04.05.2008
    Сообщений
    127

    По умолчанию Re: Трехполосная АС с двумя НЧ SEAS.

    Цитата Сообщение от George Krilov Посмотреть сообщение
    Кладете примерно столько, чтобы вам казалось что заполнено 70%, и, если АС заиграет и вам понравится, забываете про синтепон и все вопросы. Это же не rocket science, а кусок ваты в ящике.
    Да, так и придется действовать. Только я, все-таки, сначала попробую предварительно прикинуть нужный объем синтепона (как писал в #381).



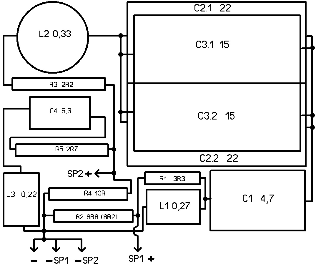
    Георгий, а не поcмотрите, у вас детали на платах фильтров собраны и соединены ( имеется в виду фото с вашего сайта http://krilovlab.com/2x1215/IMG_3803.jpg ) примерно так:

    Нажмите на изображение для увеличения. 

Название:	Ф1_СВЧ.jpg 
Просмотров:	210 
Размер:	127.4 Кб 
ID:	329815 Нажмите на изображение для увеличения. 

Название:	Ф2_НЧ.jpg 
Просмотров:	191 
Размер:	87.1 Кб 
ID:	329816 ?

    А то некоторые места по фото не очень понятны. Например, кажется , что R4 (10R) и С4 (5.6 mf) соединены.

  10. #409
    Завсегдатай
    Автор темы
    Аватар для George Krilov
    Регистрация
    14.05.2006
    Адрес
    Москва
    Возраст
    70
    Сообщений
    6,553

    По умолчанию Re: Трехполосная АС с двумя НЧ SEAS.

    http://krilovlab.com/2x1215/Cross_Sk...pair_final.GIF вот схема, надо ей руководствоваться.
    Георгий Крылов

  11. #410
    Частый гость
    Регистрация
    04.05.2008
    Сообщений
    127

    По умолчанию Re: Трехполосная АС с двумя НЧ SEAS.

    Цитата Сообщение от George Krilov Посмотреть сообщение
    http://krilovlab.com/2x1215/Cross_Sk...pair_final.GIF вот схема, надо ей руководствоваться.
    Ну, разумеется, этой схемой и руководствовался.
    Просто хотелось сделать фильтры максимально близкими к конструкции фильтров разработчика. (С учетом того, например, что в ваших рекомендациях по проектированию фильтров, попадавшихся где-то здесь на форуме, упоминалось о нежелательности пересечения проводов и т.п.)

  12. #411
    Завсегдатай
    Автор темы
    Аватар для George Krilov
    Регистрация
    14.05.2006
    Адрес
    Москва
    Возраст
    70
    Сообщений
    6,553

    По умолчанию Re: Трехполосная АС с двумя НЧ SEAS.

    Тесно было, если что и пересекается, то на виде сверху, а в пространстве они не пересекаются. Паять только приходится в определенном порядке.
    Добавил еще картинки фильтров.
    Георгий Крылов

  13. #412
    Частый гость
    Регистрация
    04.05.2008
    Сообщений
    127

    По умолчанию Re: Трехполосная АС с двумя НЧ SEAS.

    Цитата Сообщение от George Krilov Посмотреть сообщение
    Добавил еще картинки фильтров.
    Георгий, а где смотреть? Здесь http://krilovlab.com/2x1215/ ,вроде бы, ничего нового не появилось.

  14. #413
    Завсегдатай
    Автор темы
    Аватар для George Krilov
    Регистрация
    14.05.2006
    Адрес
    Москва
    Возраст
    70
    Сообщений
    6,553

    По умолчанию Re: Трехполосная АС с двумя НЧ SEAS.

    Георгий Крылов

  15. #414
    Частый гость
    Регистрация
    04.05.2008
    Сообщений
    127

    По умолчанию Re: Трехполосная АС с двумя НЧ SEAS.

    Цитата Сообщение от George Krilov Посмотреть сообщение
    Спасибо, посмотрю повнимательнее.

    Георгий, а ширина платы СЧ-ВЧ фильтра у вас какая получилась? У меня, правда, толщина куска МДФ под плату 10мм и по предварительным прикидкам плата с двухэтажным пирогом из пяти супримов (15+15+22+22+4,7) пролезает в отверстие НЧ динамика при ширине не более 125мм, в то время как два по 22 плюс 4,7 уже 135мм по габаритам. Пока чего-то не придумал, как это все запихнуть. Если только сначала закрепить к плате три нижних конденсатора, запихнуть в корпус, привинтить, а затем уже внутри корпуса попробовать приклеить и припаять ноги двух оставшихся конденсаторов.

    И также непонятно как крепить этот фильтр, если не клеить. Конденсаторы перекрывают с одного угла все пространство, где можно сделать отверстие под шуруп.

  16. #415
    Завсегдатай
    Автор темы
    Аватар для George Krilov
    Регистрация
    14.05.2006
    Адрес
    Москва
    Возраст
    70
    Сообщений
    6,553

    По умолчанию Re: Трехполосная АС с двумя НЧ SEAS.

    У меня все влезло как-то, я сделал сам три пары. Не помню,как это вышло.
    Последняя плата была 135х170. Толщина 10мм - многовато, я использую ламинированный оргалит - он где-то 3+мм.
    Не нужно не клеить и тогда шурупов не будет.
    B точно - паять что-то внутри корпуса - это самоубийственный акт.

    При сборке есть важные вещи - на них следует обращать внимание.
    Например, герметичность корпуса. Отверстия под провода из отсека НЧ в СЧ надо герметизировать пластилином, фазики нужно изнутри промазать пластилином, динамики надо ставить на прокладки (правда, сейчас Морель стал на ЕТ338 клеить свою прокладку, а у Сканспика она была всегда). И все другие отверстия , если они есть, нуэно залепить пластилином: например, если под шипы просадили насквозь отверстие в дне.
    Георгий Крылов

  17. #416
    Частый гость
    Регистрация
    18.03.2011
    Адрес
    Канада , г. Монреаль
    Возраст
    46
    Сообщений
    313

    По умолчанию Re: Трехполосная АС с двумя НЧ SEAS.

    я раньше скептически относился к вч морель который вы хвалили
    случайно подвернулись две пары морелей MDT33 сделанные еще в британии в отличном состоянии даже с коробкой
    это больше кг каждый вч - ух
    являюсь обладателем сканспиковского берилия и скажу морель посвоему классный
    обалденный звук - не знаю как там звучат 338 но 33 класс!!!
    отличный выбор

  18. #417
    Завсегдатай
    Автор темы
    Аватар для George Krilov
    Регистрация
    14.05.2006
    Адрес
    Москва
    Возраст
    70
    Сообщений
    6,553

    По умолчанию Re: Трехполосная АС с двумя НЧ SEAS.

    Есть немного людей, которые сильно не любят Морели. Троелс - один из них. Их можно ругать за некотрые вещи (ранний спад ВЧ, несоответствие заявленной резонансной частоте), но играют они хорошо.
    Георгий Крылов

  19. #418
    Частый гость Аватар для Dreew
    Регистрация
    31.05.2017
    Сообщений
    294

    По умолчанию Re: Трехполосная АС с двумя НЧ SEAS.

    Цитата Сообщение от George Krilov Посмотреть сообщение
    Есть немного людей, которые сильно не любят Морели. Троелс - один из них.
    Троелс и 9700 не любит, он писал об этом.

    Георгий, на схеме для пищалки указано R2 - 8R2* MOX (6R8) - Это нужно ориентироваться на слух какой резистор поставить 8,2Ом или 6,8Ом?

  20. #419
    Завсегдатай Аватар для BlackRoger
    Регистрация
    16.05.2011
    Адрес
    Россия
    Возраст
    44
    Сообщений
    1,100

    По умолчанию Re: Трехполосная АС с двумя НЧ SEAS.

    Цитата Сообщение от George Krilov Посмотреть сообщение
    ранний спад ВЧ
    - это их самый слышимый недостаток, в остальном они более менее нормальные.

    ---------- Сообщение добавлено 09:56 ---------- Предыдущее сообщение было 09:54 ----------

    Цитата Сообщение от laert Посмотреть сообщение
    случайно подвернулись две пары морелей MDT33 сделанные еще в британии
    А сейчас их делают хуже?
    Кто-нибудь знает, где можно приобрести новые ET-338 с измеренными параметрами, т.е. конкретно для этой пары? Слышал что их партии сильно разнятся и можно запросто попасть на левак.
    Последний раз редактировалось BlackRoger; 19.10.2018 в 10:15.

  21. #420
    Иногдауменявыгибаютсяруки Аватар для Merstan
    Регистрация
    24.05.2008
    Адрес
    Бердянск
    Возраст
    45
    Сообщений
    13,995

    По умолчанию Re: Трехполосная АС с двумя НЧ SEAS.

    Цитата Сообщение от BlackRoger Посмотреть сообщение
    Кто-нибудь знает, где можно приобрести новые ET-338 с измеренными параметрами, т.е. конкретно для этой пары? Слышал что их партии сильно разнятся и можно запросто попасть на левак.
    Да я брал у финнов, резонанс отличный, звук с каждым месяцем круче.
    Импеданс:

    АЧХ без бафла:

Страница 21 из 41 Первая ... 11192021222331 ... Последняя

Социальные закладки

Социальные закладки

Ваши права

  • Вы не можете создавать новые темы
  • Вы не можете отвечать в темах
  • Вы не можете прикреплять вложения
  • Вы не можете редактировать свои сообщения
  •