Приветствую!
Раньше помоему тут небыло темы в которой обсуждались бы только ИБП и преобразователи напряжения.
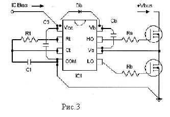
Щас меня интересует эта схема полумостового ИБП
Приветствую!
Раньше помоему тут небыло темы в которой обсуждались бы только ИБП и преобразователи напряжения.
Щас меня интересует эта схема полумостового ИБП
Последний раз редактировалось лысый; 09.03.2007 в 19:59.
Если делать с регулировкой шим, то лучше уж SG3525 + какойнить драйвер полумоста от IR.
Нехочет мой ИБП нормально работать... И кондёр менял, и резюки в затворах, при питании 80в и отдельно 12в для драйвера полевики очень быстро нагреваются...
Осциллографом смотрел, на затворах вроде импульсы ровные, но на прямой где напряжения нет есть, небольшой пик примерно 3в совсем короткий, откуда он непонятно...![]()
TDA, Дай параметры своего транса, и ради интереса,сравни сопротивление открытого состояния IRFPG50 и IRF840,входные ёмкости.Последние выгоднее использовать. Ничего, что мы на "ты"?![]()
Снабберов у меня в блоке нету, Трансформатор намотан на сердечнике дросселя из строчной развёртки телевизора УПИМЦТ,рассчётная проницаемость материала получилась около 1100,размеры Ш15*12.
Ой,пардончик! Щас перечитал ветку - нашёл данные.
А чтобы напряжение поднять на микрухе до 14Вольт - гасящий резистор пришлось сделать 38кОм. Да ещё, "бустрепного" кондера за глаза достаточно 0,1мкФ.
Последний раз редактировалось M - 16.; 25.02.2005 в 09:03.
Попробуй плату переразвести.....Сообщение от TDA
M - 16., Конечно на "ты" лучше
Я пробовал этот бустрёпный кондёр ставить 0.1мкф, разницы между 10мкф и 0.1мкф не заметил!Наверно действительно плату бы надо попробовать по другому развести...
Но мне кажется что щас плата разведена удачно, практически звездой, тоесть какраз питание на полевики и на микруху идёт из 1 точки, шунтирующий кондёр 1.5мкф 400в стоит прям от этой точки к пятачку от которого идёт гасящее сопротивление на микруху, при 25к на ней было напряжение 9в всего!У меня микруха IR2155 может она чемнить отличается от IR2153? У неё я знаю выходной ток больше на 10ма
Вобщем вот последняя разводка платы. Тока номиналы тут стоят старые, я уже много разных перепробовал.
Кстати полевики у меня IRFIBC40G я смотрел их параметры, у них вроде как всё ёмкости были меньше чем у IRF840 (если уж их ставить то тогда IRFI840)
TDA, Дополнительные диоды СИ - собаке пятое колесо,убрать!
Если проблемы с изоляционными прокладками для транзисторов,можно IRFI. Подозреваю,что с микрухой не всё в порядке (попробуй без транзисторов включи и посмотри напряжение питания на микрухе). Печатка компактная, но нужно больше элегантности,многие дороги неоправданно длинные, всё,что касаемо затворов и обвязки микрухи надо отодвигать как можно дальше от сильноточных цепей. Резистор по входу 4,7 Ом лучше заменить на термистор из БП АТХ,(я даже предохранитель у себя вероятно впаяю в плату т.к. при нагрузке заметно падение напруги на колодке.
У тебя нет кондера последовательно с первичкой.......во всяком случае на плате не разведен....
И еще, транс у тебя по моему не правильно намотан....в комповых БП 250 ватт мощностью намотано 38 витков первички.....
Последний раз редактировалось witali; 28.02.2005 в 09:19.
witali, Блин, углядел, глазастый!![]()
Полевики у меня какраз в ТО220Ф IRFIBC40G, с трансом и вообще без него полевики греются абсолютно одинаково, только когда я подключаю транс, он издаёт щелчки примерно через каждые 2 секунды... Я писал об этом выше. Кстати если ставить кондёры в делителе вместо 220мкф, по 1мкф, то кондёр последовательно с первичкой ненужен? И нужны ли будут тогда сопротивления 100к 1вт параллельно кондёрам делителя?
Я пробовал мерить ток потребляемый микрухой без подачи напряжения на полевики, он был примерно 15ма, потому и при гасящем сопротивлении в 25к, напряжение на ней такое низкое. В даташите написано что то должен быть до 20ма.
Насчёт диодов я уж тоже понял что они особо ненужны, но они ни как не влияют...
Один конец обмотки должен быть подключен через конденсатор 1,5мкФ, как Виталий правильно заметил, в точку соединения входных электролитов. Если микруха не нагружена - напряжение на ней должно быть больше. В любом случае, чтобы управлять полевиками - нужно напряжение около 12Вольт. Резюки нужны - они выравнивают потенциалы на кондёрах, и заодно их разряжают после выключения БП.
вот "конечный" вариант
Топология с серьезными ошибками.
1. Выпрямленное постоянное напряжение или потенциал земли нужно снимать с выводов конденсаторов, а не с диодного моста.
2. На транзисторе нижнего уровня очень длинная земля от истока и очень длинная земля у драйвера.
2 WP
У М-16 плата вообще более свободно разведена (дорожки длиннее)
и тем не менее работает хорошо
и еще....посмотри как там "разведена" плата
http://www.pipe.spb.ru/books/charger.html
Я конечно понимаю сто все это нужно делать по правилам....но я в этом только вершки знаю....И если мы делаем неправильно, помогите нам, если это вам нетрудно
[ADDED=witali]1109665872[/ADDED]
КОНКУРС!!!!!!!!!!!!!!!!!!
на лучшую разводку платы для этого блока питания,
кто выигрывает , тот получает всеобщее признание, и я сделаю и отдам ему один экземпляр устройства
Последний раз редактировалось witali; 01.03.2005 в 11:31.
А если победит дружба?![]()
Явно, что это не пример для подражания.Сообщение от witali
Помогите тогда нам, если это не трудно....я думаю для профи это не составит труда
Конденсаторы 220 мкФ 400 В перенести вниз платы, транзисторы IRFBC поменять местами, микросхему драйвера повернуть вверх ключом и не стесняться использовать перемычки. Тогда самые критичные проводники станут значительно короче.
По идее, просто вкладываешь и всё, или в RAR его!
О! Получилось!
но вот...чтото намучил, посмотрите
тут же фаилик Lay
А радиатор какой будет?
Пластинчатый, от компового блока, транс оттуда же, да почти все оттуда...кроме микры и транзюков
Единственное народ...там несколько элементов перевернуты...мост диодный например
Последний раз редактировалось witali; 01.03.2005 в 17:01.
Социальные закладки