Страница 2 из 5 Первая 1234 ... Последняя
Показано с 21 по 40 из 93

Тема: USB транспорт на XMOS с ЦФ на борту

  1. #1 Показать/скрыть первое сообщение.
    Завсегдатай
    Автор темы
    Аватар для maxssau
    Регистрация
    15.08.2015
    Адрес
    Самара
    Возраст
    41
    Сообщений
    2,585

    По умолчанию USB транспорт на XMOS с ЦФ на борту

    продолжая начатую тему в https://forum.vegalab.ru/showthread....=1#post2651981

    Идея:

    USB транспорт XMOS. Цифровой фильтр на ПЛИС.

    За основу схемы можно взять эту:

    https://forum.vegalab.ru/showthread.php?t=84805

    Проект USB аудио готов и работает. Добавление COM порта для конфигурирования в процессе.

    Необходимо:

    - проект ЦФ на ПЛИС.
    - распиновка разъема I2S и служебных сигналов, собственно какие служебные сигналы вообще нужны?
    - мелкие доработки и улучшения существующей платы.
    _________________
    Евгений

  2. #21
    Не хочу! Аватар для Alex
    Регистрация
    20.03.2003
    Адрес
    Worldwide
    Возраст
    63
    Сообщений
    39,057

    По умолчанию Re: USB транспорт на XMOS с ЦФ на борту

    Цитата Сообщение от maxssau Посмотреть сообщение
    похоже что программный кроссовер умер
    Если Дефоника и умерла, в смысле нет развития, есть уже сущестующие ее версии, которые многие успешно используют.
    Но Дефоника - не же единственный программный кроссовер.
    "Замполит, чайку?"(с)"Охота за Красным Октябрем".
    "Да мне-то что, меняйтесь!"(с)анек.
    <-- http://altor1.narod.ru --> Вопросы - в личку, е-мейл, скайп.

  3. #22
    Завсегдатай Аватар для dortonyan
    Регистрация
    03.06.2009
    Адрес
    BLR
    Возраст
    39
    Сообщений
    4,038

    По умолчанию Re: USB транспорт на XMOS с ЦФ на борту

    Я в личке уже предложил maxssau перечень требований к транспорту. Дублирую на критику публики:

    1. Транспорт должен быть кач-но разтрассирован в минимальных габаритах.
    2. Транспорт следует выполнить в виде модуля/сборки с пинами (с шагом 2мм) по краям, который можно запаивать в основную (материнскую) плату ЦАП (или втыкать в цанговые панели). Это удобнее, упрощает конструкцию ЦАПа и улучшает ЭМС, т.к. не нужны шлейфы.
    3. Транспорт должен быть максимально простым: USB разъем, джамперы, гальваноразвязка, светодиоды, и прочие необязательные элементы - все это через пины сборки должно быть вынесено на материнскую плату. Чтобы можно было использовать любые разъемы и любые развязки на свой вкус.
    4. Транспорт должен быть оснащен набортным DC-DC преобразователем, а напряжение питания XMOS и остальных микросхем снижено до минимально допустимого, чтобы минимизировать ток от USB, а заодно помехи. Это снизит нагрев устройства и требования к USB кабелю.
    5. Желательно на плате транспорта разместить и плисину с ЦФ. Во первых, это позволит вместе с транспортом изолировать от аналоговой схемы ЦФ. Во вторых - сделает транспорт универсальным для любых типов ЦАП. Ну и кроме того свой ЦФ можно выполнить качественнее ЦФ, встраеваемых внутри ДС ЦАП. Также плисина полезна и для АЦП, т.к. она тоже может выполнять роль более качественного внешнего ЦФ-дециматора, или производить дополнительную арифметику, типа вычитания каналов (например, когда требуется из пары несимметричных входов сделать один симметричный).

  4. #23
    Не хочу! Аватар для Alex
    Регистрация
    20.03.2003
    Адрес
    Worldwide
    Возраст
    63
    Сообщений
    39,057

    По умолчанию Re: USB транспорт на XMOS с ЦФ на борту

    Цитата Сообщение от dortonyan Посмотреть сообщение
    4. Транспорт должен быть оснащен набортным DC-DC преобразователем, а напряжение питания XMOS и остальных микросхем снижено до минимально допустимого, чтобы минимизировать ток от USB, а заодно помехи. Это снизит нагрев устройства и требования к USB кабелю.
    Так можно-же транспорт делать не Bus-Powered a Self-Powered, и питать его самому, от отдельного источника, а Vbus при этом используется чисто как сигнал подключения. Ток по нему минимальный и токовые требования к кабелю снижаются.
    Я так сделал в автомобильном варианте ATDAC-92AU, поскольку там реально может понадобиться длинные кабель от ГУ в багажник.
    "Замполит, чайку?"(с)"Охота за Красным Октябрем".
    "Да мне-то что, меняйтесь!"(с)анек.
    <-- http://altor1.narod.ru --> Вопросы - в личку, е-мейл, скайп.

  5. #24
    Завсегдатай
    Автор темы
    Аватар для maxssau
    Регистрация
    15.08.2015
    Адрес
    Самара
    Возраст
    41
    Сообщений
    2,585

    По умолчанию Re: USB транспорт на XMOS с ЦФ на борту

    Я больше сторонник self powered. Время показало, что без clock monitor как у Алекса транспорт ведет себя неадекватно при отключении питания ЦАПа и соответственно генераторов мастерклока
    _________________
    Евгений

  6. #25
    Не хочу! Аватар для Alex
    Регистрация
    20.03.2003
    Адрес
    Worldwide
    Возраст
    63
    Сообщений
    39,057

    По умолчанию Re: USB транспорт на XMOS с ЦФ на борту

    Цитата Сообщение от maxssau Посмотреть сообщение
    Я больше сторонник self powered.
    И у того и у тог есть свои достоинства и недостатки.
    Просто показал как решить проблему длинного кабеля.
    "Замполит, чайку?"(с)"Охота за Красным Октябрем".
    "Да мне-то что, меняйтесь!"(с)анек.
    <-- http://altor1.narod.ru --> Вопросы - в личку, е-мейл, скайп.

  7. #26
    Завсегдатай
    Автор темы
    Аватар для maxssau
    Регистрация
    15.08.2015
    Адрес
    Самара
    Возраст
    41
    Сообщений
    2,585

    По умолчанию Re: USB транспорт на XMOS с ЦФ на борту

    Насчет пункта 3 тоже вопросы. Есть ли какая то литература или аппноуты по применению изоляторов. Тонкости, рекомендации к применению и т. п.
    _________________
    Евгений

  8. #27
    Завсегдатай Аватар для dortonyan
    Регистрация
    03.06.2009
    Адрес
    BLR
    Возраст
    39
    Сообщений
    4,038

    По умолчанию Re: USB транспорт на XMOS с ЦФ на борту

    Цитата Сообщение от Alex Посмотреть сообщение
    Так можно-же транспорт делать не Bus-Powered a Self-Powered, и питать его самому, от отдельного источника, а Vbus при этом используется чисто как сигнал подключения. Ток по нему минимальный и токовые требования к кабелю снижаются.
    Я так сделал в автомобильном варианте ATDAC-92AU, поскольку там реально может понадобиться длинные кабель от ГУ в багажник.
    Так вот хотелось бы этого избежать.
    Во первых отдельный БП это неудобно. Во вторых - межобмоточные емкости трансформаторов БП транспорта и БП ЦАПа образуют паразитную емкость через сеть минимум в десятки пик, что сводит на нет малую емкость микросхем гальваноразвязки. В авто конечно такой проблемы нет, но для домашнего использования удобнее дополнить схему дс-дс конвертором.

  9. #28
    Не хочу! Аватар для Alex
    Регистрация
    20.03.2003
    Адрес
    Worldwide
    Возраст
    63
    Сообщений
    39,057

    По умолчанию Re: USB транспорт на XMOS с ЦФ на борту

    Цитата Сообщение от dortonyan Посмотреть сообщение
    но для домашнего использования удобнее дополнить схему дс-дс конвертором.
    Ну так можно через него и питать от своего БП, а не от USB.

    P.S. В 92AU так и сделано, там вообще три гальванически развязанных части схемы, питающиеся через dc-dc от однй бортовой сети.
    "Замполит, чайку?"(с)"Охота за Красным Октябрем".
    "Да мне-то что, меняйтесь!"(с)анек.
    <-- http://altor1.narod.ru --> Вопросы - в личку, е-мейл, скайп.

  10. #29
    Завсегдатай Аватар для dortonyan
    Регистрация
    03.06.2009
    Адрес
    BLR
    Возраст
    39
    Сообщений
    4,038

    По умолчанию Re: USB транспорт на XMOS с ЦФ на борту

    Цитата Сообщение от Alex Посмотреть сообщение
    Ну так можно через него и питать от своего БП, а не от USB.
    Alex, я же выше написал так почему не годится - паразитные емкости БП. Иначе, если питать от своего БП, то и ДС-ДС не нужен.

  11. #30
    Завсегдатай
    Регистрация
    13.12.2004
    Адрес
    Юг Украины
    Возраст
    48
    Сообщений
    2,554

    По умолчанию Re: USB транспорт на XMOS с ЦФ на борту

    Цитата Сообщение от dortonyan Посмотреть сообщение
    удобнее дополнить схему дс-дс конвертором.
    В сети есть н-ное количество апнотов на тему "почему ДС-ДС генерит субгармоники на нижестоящих частотах".
    Если очень хочется ДС-ДС, то он должен быть синхронным с частотой дискретезации, а это некая мс+некий, весьма определенный транс, что сразу же накладывает ограничения.

    При стоимости аманероподобных интерфейсов, в том числе на хмос, в 30$ идеи насчет своего транспорта должны содержать некие особенности.
    Типа отсутствия того самого специфичного хмоса, ЦФ с некими фишками типа подключения РСМ56 в стоимость меньше "болгарского транспорта" и т.д.
    сори.

  12. #31
    Не хочу! Аватар для Alex
    Регистрация
    20.03.2003
    Адрес
    Worldwide
    Возраст
    63
    Сообщений
    39,057

    По умолчанию Re: USB транспорт на XMOS с ЦФ на борту

    Цитата Сообщение от dortonyan Посмотреть сообщение
    Alex, я же выше написал так почему не годится - паразитные емкости БП.
    Так dс-dc их отвяжет, их емкости-же последоватльно соденинены.

    ---------- Сообщение добавлено 20:53 ---------- Предыдущее сообщение было 20:51 ----------

    Цитата Сообщение от Walter Посмотреть сообщение
    в том числе на хмос, в 30$ и
    Они вообще-то сильно разные бывают. Боюсь, у моих иксмосов только деталей на бОльшую сумму
    "Замполит, чайку?"(с)"Охота за Красным Октябрем".
    "Да мне-то что, меняйтесь!"(с)анек.
    <-- http://altor1.narod.ru --> Вопросы - в личку, е-мейл, скайп.

  13. #32
    Завсегдатай
    Автор темы
    Аватар для maxssau
    Регистрация
    15.08.2015
    Адрес
    Самара
    Возраст
    41
    Сообщений
    2,585

    По умолчанию Re: USB транспорт на XMOS с ЦФ на борту

    Процессор в розницу 1300р. С китайскими платами конкурировать нет цели.

    ---------- Сообщение добавлено 21:58 ---------- Предыдущее сообщение было 21:55 ----------

    О пцм56 даже мысли нет.

    Offтопик:

    С R2R преобразователями нет желания работать. Если появится, ограничусь покупкой б/у алхимии, т.к. только её и слышал из параллельных ЦАПов

    _________________
    Евгений

  14. #33
    Завсегдатай
    Регистрация
    13.12.2004
    Адрес
    Юг Украины
    Возраст
    48
    Сообщений
    2,554

    По умолчанию Re: USB транспорт на XMOS с ЦФ на борту


    Offтопик:
    Цитата Сообщение от maxssau Посмотреть сообщение
    С китайскими платами конкурировать нет цели.
    Цель?
    Даже не в смысле некой коммерции, просто зачем использовать именно твой транспорт?
    Какая киллерфича?
    Есть ли конкуренты?
    Сколько стоят?
    <рекурсия>
    Зачем использовать именно твой транспорт?
    Извини, может быть вопросы звучат по-хамски, но если на них есть ответы, то во всех смыслах проще реализовывать проект, даже чисто психологически.


  15. #34
    Завсегдатай
    Автор темы
    Аватар для maxssau
    Регистрация
    15.08.2015
    Адрес
    Самара
    Возраст
    41
    Сообщений
    2,585

    По умолчанию Re: USB транспорт на XMOS с ЦФ на борту


    Offтопик:

    Цели получить прибыль и затмить болгина и ему подобные интерфейсы не ставится. Цель - сделать максимально удобный и функциональный транспорт,удовлетворяющий поставленные задачи. На аианеро, ни китайские иксмосы,ни болгарин не даёт того, что задумано

    _________________
    Евгений

  16. #35
    Завсегдатай Аватар для dortonyan
    Регистрация
    03.06.2009
    Адрес
    BLR
    Возраст
    39
    Сообщений
    4,038

    По умолчанию Re: USB транспорт на XMOS с ЦФ на борту

    Цитата Сообщение от Alex Посмотреть сообщение
    Так dс-dc их отвяжет, их емкости-же последоватльно соденинены.
    Пардон, я не правильно написал. Не dc-dc, а step-down.

    Цитата Сообщение от Walter Посмотреть сообщение
    При стоимости аманероподобных интерфейсов, в том числе на хмос, в 30$ идеи насчет своего транспорта должны содержать некие особенности.
    Естественно. И основная особенность - нормально разтрассированная плата, ибо китайские делаются абы как наскоряк, абы работало.

  17. #36
    Завсегдатай
    Автор темы
    Аватар для maxssau
    Регистрация
    15.08.2015
    Адрес
    Самара
    Возраст
    41
    Сообщений
    2,585

    По умолчанию Re: USB транспорт на XMOS с ЦФ на борту

    Я никому его и не навязываю. Есть огромная куча альтернатив, в какой то из веток я даже список с ценами приводил.

    Если так рассуждать,проще готовый девайс купить.

    ---------- Сообщение добавлено 22:08 ---------- Предыдущее сообщение было 22:05 ----------

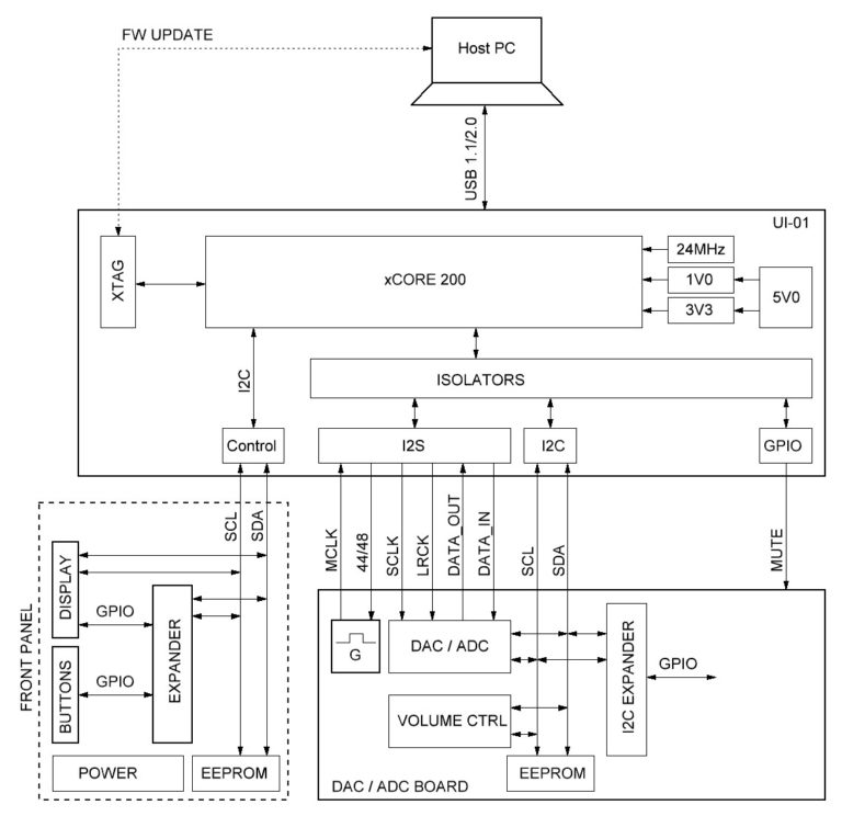
    Идея моего идеального транспорта такая:
    Нажмите на изображение для увеличения. 

Название:	рис-4-768x744.jpg 
Просмотров:	262 
Размер:	53.6 Кб 
ID:	350499
    _________________
    Евгений

  18. #37
    Завсегдатай
    Регистрация
    13.12.2004
    Адрес
    Юг Украины
    Возраст
    48
    Сообщений
    2,554

    По умолчанию Re: USB транспорт на XMOS с ЦФ на борту


    Offтопик:
    maxssau,
    Не обижайся, ответ "потому что я так хочу" - отличный и правильный ответ, но тогда не нужно спрашивать, что там кто чего хочет, а реализовывать именно свое виденье

  19. #38
    Завсегдатай
    Автор темы
    Аватар для maxssau
    Регистрация
    15.08.2015
    Адрес
    Самара
    Возраст
    41
    Сообщений
    2,585

    По умолчанию Re: USB транспорт на XMOS с ЦФ на борту

    Своё видение продвигается независимо от всего этого
    _________________
    Евгений

  20. #39
    Не хочу! Аватар для Alex
    Регистрация
    20.03.2003
    Адрес
    Worldwide
    Возраст
    63
    Сообщений
    39,057

    По умолчанию Re: USB транспорт на XMOS с ЦФ на борту

    Цитата Сообщение от maxssau Посмотреть сообщение
    Идея моего идеального транспорта такая:
    Сразу несколко замечаний:
    1) зачем использовать I2C а не SPI?
    SPI сама намного проще, намного быстрее, и намного проще пропускать ее через изоляторы. поскольку все однонаправленное.

    2) зачем ЕЕПРОМ иметь со стороны ЦАПа а не со стороны транспорта? Тем более, что в транспорте она и так уже есть и не нужно еще одной/двух?
    "Замполит, чайку?"(с)"Охота за Красным Октябрем".
    "Да мне-то что, меняйтесь!"(с)анек.
    <-- http://altor1.narod.ru --> Вопросы - в личку, е-мейл, скайп.

  21. #40
    Завсегдатай
    Автор темы
    Аватар для maxssau
    Регистрация
    15.08.2015
    Адрес
    Самара
    Возраст
    41
    Сообщений
    2,585

    По умолчанию Re: USB транспорт на XMOS с ЦФ на борту

    Это всё пока идея в стадии отладки. По факту на транспорте первой версии присутствуют обе шины, дело вкуса.
    Eeprom на плате ЦАП и плате индикации. Нужны для того что бы транспорт сам мог идентифицировать подключенную к нему плату без кучи джамперов и такой же кучи прошивок под каждую плату. Это долго нудно,но по моему мнению оно того стоит. Цена еепромки думаю не нуждается в комментариях. Критика приветствуется.
    Последний раз редактировалось maxssau; 18.07.2019 в 22:23.
    _________________
    Евгений

Страница 2 из 5 Первая 1234 ... Последняя

Социальные закладки

Социальные закладки

Ваши права

  • Вы не можете создавать новые темы
  • Вы не можете отвечать в темах
  • Вы не можете прикреплять вложения
  • Вы не можете редактировать свои сообщения
  •