Страница 12 из 50 Первая ... 2101112131422 ... Последняя
Показано с 221 по 240 из 993

Тема: Усилитель Шушурина на импорте

  1. #1 Показать/скрыть первое сообщение.
    Завсегдатай
    Автор темы
    Аватар для 25602
    Регистрация
    07.07.2006
    Адрес
    Украина, Балта
    Возраст
    41
    Сообщений
    2,046

    Ссылка Усилитель Шушурина на импорте

    Вот собрал сегодня усилитель В.Шушурина публикации 1978г. на современной елеметной базе. Звучит класно.
    PS может кого на ностальгию потянет
    Вложения Вложения
    Последний раз редактировалось 25602; 05.02.2013 в 12:46. Причина: Добавлена последняя схема, ПП, парт-лист

  2. #221
    Завсегдатай Аватар для .Васильев
    Регистрация
    04.04.2007
    Адрес
    новгородская обл Пестово на Мологе
    Сообщений
    10,818

    По умолчанию Re: Усилитель Шушурина на импорте

    ,это который в 11/82 радио,я про него давно ведь кому то на паяльнике говорил.На ОРА 134 прелесть будет,да еще и несгораемый .
    С уважением Максим.

  3. #222
    Старый знакомый
    Регистрация
    01.10.2006
    Адрес
    Беларусь г.Солигорск
    Возраст
    44
    Сообщений
    927

    По умолчанию Re: Усилитель Шушурина на импорте

    Да странный он какой-то.
    Нажмите на изображение для увеличения. 

Название:	jjjj.gif 
Просмотров:	2549 
Размер:	99.3 Кб 
ID:	93295

    Ну нет так нет.

    Неужели никто не может нормальный квазивыход нарисовать с предвыходом на 1837\4793?

  4. #223
    Завсегдатай Аватар для .Васильев
    Регистрация
    04.04.2007
    Адрес
    новгородская обл Пестово на Мологе
    Сообщений
    10,818

    По умолчанию Re: Усилитель Шушурина на импорте

    Да какой он странный то ? Очень даже неплохой ,а защита надежнейшая.
    С уважением Максим.

  5. #224
    Новичок
    Регистрация
    25.06.2010
    Сообщений
    24

    По умолчанию Re: Усилитель Шушурина на импорте

    класный Сырицо ,делал в детстве ,защита вещь,пытался закороченными радиаторами-всеравно пел,только чуть тише ;в общем gut аппарат.Жара творить не даёт доканала!

  6. #225
    Частый гость Аватар для vadykaF
    Регистрация
    12.05.2010
    Адрес
    Новосибирск
    Сообщений
    470

    По умолчанию Re: Усилитель Шушурина на импорте

    Приезжайте к нам в Сибирь, остынете

  7. #226
    Частый гость Аватар для myrci
    Регистрация
    22.08.2006
    Адрес
    УКРАИНА г.Харьков
    Возраст
    44
    Сообщений
    329

    По умолчанию Re: Усилитель Шушурина на импорте

    Да аппарат у Сырицо получился что надо! Что то на него мало внимание обращают. Я такой тоже собирал тока более новый тот что всего на двух операх и двух дарлингтонах. Что касается надежности то да весч не убиваемая!!!! У него пожалуй единственный не достаток - невозможность наращивания выходной мощности до скольки хотим из - за ограничения питания ОУ! а так усилок гут. Кстати вот бы сравнить Гумеля Шушурин и то тпростой СЫрицо на двух операх и двух транзисторах проще не куда ваще!!!!

  8. #227
    Частый гость
    Регистрация
    15.04.2008
    Адрес
    Харьков
    Сообщений
    263

    По умолчанию Re: Усилитель Шушурина на импорте

    А что темка "остыла"? Прочитал большую половину (времени не хватает) и понял, что надо попробовать спаять. Как раз в нужные мне данные вкладывается.
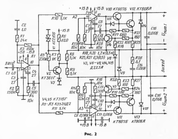
    Вопрос к топикстартеру: в варианте Шушурин 1978 2010 mod
    1) зачем резисторы R33 и R34, R9 и R17 включены по два последовательно?
    2) VR2 для подстройки "0" на выходе? Какой уровень постоянки считать нормальным?
    3) Ток покоя выходников для 1 пары - 100 мА ( 0,1 А)? Не многовато ли тепла?
    4) Дроссель L1 - индуктивность в пределах 80-(100)-130 мкГн на что влияет?
    5) Дроссель L2 - данные как у Ланзара, или у Холтона?

  9. #228
    Завсегдатай
    Автор темы
    Аватар для 25602
    Регистрация
    07.07.2006
    Адрес
    Украина, Балта
    Возраст
    41
    Сообщений
    2,046

    По умолчанию Re: Усилитель Шушурина на импорте

    Цитата Сообщение от Адександр Посмотреть сообщение
    1) зачем резисторы R33 и R34,
    Задают ток через диоды Д1-Д2 включено два последовательно с целью уменьшения рассеиваемой мощности на них. Аналогично с R9 и R17.
    Цитата Сообщение от Адександр Посмотреть сообщение
    2) VR2 для подстройки "0" на выходе? Какой уровень постоянки считать нормальным?
    Да. 5-10 мВ.
    Цитата Сообщение от Адександр Посмотреть сообщение
    3) Ток покоя выходников для 1 пары - 100 мА ( 0,1 А)? Не многовато ли тепла?
    Нормально на них тепла. Во всяком случае радиатор который на фотках справляется нормально. Температура не превышала не разу 60гр.
    Цитата Сообщение от Адександр Посмотреть сообщение
    4) Дроссель L1 - индуктивность в пределах 80-(100)-130 мкГн на что влияет?
    Влияет на устойчивость усилителя.
    Цитата Сообщение от Адександр Посмотреть сообщение
    5) Дроссель L2 - данные как у Ланзара, или у Холтона?
    Да.

  10. #229
    Частый гость
    Регистрация
    11.06.2010
    Адрес
    Донецк
    Возраст
    35
    Сообщений
    203

    По умолчанию Re: Усилитель Шушурина на импорте

    Есть у кого проверенная печатка в Layout? Хочется собрать этот усь и сравнить с Ланзаром.

  11. #230
    Завсегдатай
    Автор темы
    Аватар для 25602
    Регистрация
    07.07.2006
    Адрес
    Украина, Балта
    Возраст
    41
    Сообщений
    2,046

    По умолчанию Re: Усилитель Шушурина на импорте

    EpicUser, зачем именно в спринте? печать в первом посте вполне подходит для ЛУТа.
    Добавил в первый пост печать в спринте.
    Последний раз редактировалось 25602; 15.10.2010 в 10:24.

  12. #231
    Частый гость
    Регистрация
    11.06.2010
    Адрес
    Донецк
    Возраст
    35
    Сообщений
    203

    По умолчанию Re: Усилитель Шушурина на импорте

    Спасибо, так удобнее.
    Еще вопрос - если ставить две пары выходников, больше изменять ничего не надо?

  13. #232
    Завсегдатай
    Автор темы
    Аватар для 25602
    Регистрация
    07.07.2006
    Адрес
    Украина, Балта
    Возраст
    41
    Сообщений
    2,046

    По умолчанию Re: Усилитель Шушурина на импорте

    Цитата Сообщение от EpicUser Посмотреть сообщение
    сли ставить две пары выходников, больше изменять ничего не надо?
    нет

  14. #233
    Старый знакомый
    Регистрация
    11.05.2009
    Адрес
    Казань
    Возраст
    57
    Сообщений
    516

    По умолчанию Re: Усилитель Шушурина на импорте

    Цитата Сообщение от 25602 Посмотреть сообщение
    myrci, еще один момент фходные транзики в ДК должны обязательно быть серии КТ503в-е
    Поковырялся в даташитах, похоже нашел идеальную замену КТ502/КТ503 - 2SA970/2SC2240
    Вложения Вложения

  15. #234
    Завсегдатай
    Автор темы
    Аватар для 25602
    Регистрация
    07.07.2006
    Адрес
    Украина, Балта
    Возраст
    41
    Сообщений
    2,046

    По умолчанию Re: Усилитель Шушурина на импорте

    Цитата Сообщение от SaMaHa Посмотреть сообщение
    Поковырялся в даташитах, похоже нашел идеальную замену КТ502/КТ503 - 2SA970/2SC2240
    Да токо у них частота выше в раз 30 чем у КТ502/503

  16. #235
    Частый гость
    Регистрация
    11.06.2010
    Адрес
    Донецк
    Возраст
    35
    Сообщений
    203

    По умолчанию Re: Усилитель Шушурина на импорте

    Цитата Сообщение от 25602 Посмотреть сообщение
    Да токо у них частота выше в раз 30 чем у КТ502/503
    Нам это только на руку, не так ли?

  17. #236
    Завсегдатай
    Автор темы
    Аватар для 25602
    Регистрация
    07.07.2006
    Адрес
    Украина, Балта
    Возраст
    41
    Сообщений
    2,046

    По умолчанию Re: Усилитель Шушурина на импорте

    Цитата Сообщение от EpicUser Посмотреть сообщение
    Нам это только на руку, не так ли?
    Нет не так.

  18. #237
    Частый гость
    Регистрация
    11.06.2010
    Адрес
    Донецк
    Возраст
    35
    Сообщений
    203

    По умолчанию Re: Усилитель Шушурина на импорте

    Цитата Сообщение от 25602 Посмотреть сообщение
    Нет не так.
    А в чем тогда проблема? В возбуждении на ВЧ?

  19. #238
    Завсегдатай
    Автор темы
    Аватар для 25602
    Регистрация
    07.07.2006
    Адрес
    Украина, Балта
    Возраст
    41
    Сообщений
    2,046

    По умолчанию Re: Усилитель Шушурина на импорте

    Цитата Сообщение от EpicUser Посмотреть сообщение
    А в чем тогда проблема? В возбуждении на ВЧ?
    В устойчивости может быть. Перегрузочная способность ДК снизится. Скорость нарастания тоже снизится.

  20. #239
    Старый знакомый
    Регистрация
    11.05.2009
    Адрес
    Казань
    Возраст
    57
    Сообщений
    516

    По умолчанию Re: Усилитель Шушурина на импорте

    Мда, я на это купился:
    http://www.izme.ru/dsheets/transistors/KT5.html
    Пришлось взять справочник, там Fгр около 5 мГц у КТ-шек.
    И все равно указанная пара рулит. И она лучше чем 2N5401/2N5551

  21. #240
    Регистрация не подтверждена
    Регистрация
    23.06.2008
    Адрес
    Москва
    Сообщений
    1,791

    По умолчанию Re: Усилитель Шушурина на импорте

    Цитата Сообщение от SaMaHa Посмотреть сообщение
    И все равно указанная пара рулит
    Чем? Тем, что hfe больше 400? По звуку мне эта Тошибовская парочка никогда не нравилась, гораздо интереснее Хитачи 2SA1191/2SC2856 или Нек 2SA1376/2SC3478.
    Цитата Сообщение от SaMaHa Посмотреть сообщение
    И она лучше чем 2N5401/2N5551
    Не уверен, 2N вполне приличные транзисторы, довольно яркие.

Страница 12 из 50 Первая ... 2101112131422 ... Последняя

Социальные закладки

Социальные закладки

Ваши права

  • Вы не можете создавать новые темы
  • Вы не можете отвечать в темах
  • Вы не можете прикреплять вложения
  • Вы не можете редактировать свои сообщения
  •