Страница 96 из 115 Первая ... 869495969798106 ... Последняя
Показано с 1,901 по 1,920 из 2288

Тема: Кассетные магнитофоны SONY

  1. #1 Показать/скрыть первое сообщение.
    Завсегдатай
    Автор темы
    Аватар для Turbo_man
    Регистрация
    06.04.2010
    Адрес
    Moscow
    Сообщений
    5,758

    По умолчанию Кассетные магнитофоны SONY

    Планирую тут рассказ с фото про некоторые из имеющихся аппаратов. Может быть, есть смысл и приводить графики АЧХ? Не знаю.
    Уже много выкладывал внутренностей своих TC-K730ES. И один из аппаратов находится в стадии доработки с синтезатором скоростей.
    Желающие могут присоединиться к рассказам о своих интересных аппаратах.
    Последний раз редактировалось Turbo_man; 28.08.2011 в 20:32.

  2. #1901
    Завсегдатай Аватар для Russ3000
    Регистрация
    24.01.2013
    Адрес
    Pskov
    Возраст
    57
    Сообщений
    1,568

    По умолчанию Re: Кассетные магнитофоны SONY

    Цитата Сообщение от поручик Посмотреть сообщение
    TheCalligrapher, я бы в минусовое плечо вместо этого предохранителя амперметр подключил и попробовал включить, ну а дальше амперметр подскажет. Ну и там по 10в кое что можно отключить для пробы
    Так себе идея, если только с последовательным предохранителем, а то можно, посмотреть при этом, какая деталь задымится - менять.

  3. #1902
    Завсегдатай Аватар для Pilulkin
    Регистрация
    22.12.2008
    Адрес
    Москва
    Возраст
    78
    Сообщений
    3,720

    По умолчанию Re: Кассетные магнитофоны SONY

    Цитата Сообщение от Russ3000 Посмотреть сообщение
    Так себе идея, если только с последовательным предохранителем, а то можно, посмотреть при этом, какая деталь задымится - менять
    Прежде, чем смотреть,как "задымится",проверить мультиметром сопротивление относительно "земли",чтобы представить:с какой нагрузкой имеем дело в этой цепи....Если есть КЗ - найти и устранить.
    P.S.Потом уже и ток можно измерить...
    Всем - не хворать!
    С уважением,Владимир.

  4. #1903
    Частый гость Аватар для TheCalligrapher
    Регистрация
    10.01.2020
    Сообщений
    231

    По умолчанию Re: Кассетные магнитофоны SONY

    Цитата Сообщение от Pilulkin Посмотреть сообщение
    Прежде, чем смотреть,как "задымится",проверить мультиметром сопротивление относительно "земли",чтобы представить:с какой нагрузкой имеем дело в этой цепи....Если есть КЗ - найти и устранить.
    На обесточенном потребителе - проверял. Все порядке, сопротивления и там и там ненулевые в обе стороны. Пассивного закорачивания не видно. Это, конечно, еще ничего гарантирует, ибо закорачивание может быть и "активным", но тем не менее.

    Затем все таки решил рискнуть - подключил два амперметра вместо обоих предохранителей. Включил - дека заработала, как полагается. Ток с одной стороны 245 мА, с другой - 250 мА. То есть все выглядит так, как будто дело в случайности и нужно просто поменять предохранители.
    Последний раз редактировалось TheCalligrapher; 11.02.2022 в 23:39.

  5. #1904
    Старый знакомый Аватар для speedster
    Регистрация
    01.01.2011
    Адрес
    Санкт-Петербург
    Сообщений
    818

    По умолчанию Re: Кассетные магнитофоны SONY

    ну вот . что и требовалось доказать .
    nakamichi 700II\600II\500

  6. #1905
    Частый гость Аватар для поручик
    Регистрация
    28.03.2021
    Сообщений
    196

    По умолчанию Re: Кассетные магнитофоны SONY

    Цитата Сообщение от TheCalligrapher Посмотреть сообщение
    Ток с одной стороны 245 мА, с другой - 250 мА.
    однако не плохой запас по току по 10 в , в режиме записи наверное поболее будет ГСП и HX PRO тоже на этом питании сидит через стабилизаторы 7в

  7. #1906
    Завсегдатай Аватар для Spammer
    Регистрация
    26.07.2006
    Адрес
    38RUS
    Сообщений
    1,696

    По умолчанию Re: Кассетные магнитофоны SONY

    почему шум подавляется не на 10 и 20 дб с долби B/C? Нажмите на изображение для увеличения. 

Название:	изображение_2022-02-13_133303.png 
Просмотров:	120 
Размер:	77.3 Кб 
ID:	417366

  8. #1907
    Завсегдатай Аватар для Pilulkin
    Регистрация
    22.12.2008
    Адрес
    Москва
    Возраст
    78
    Сообщений
    3,720

    По умолчанию Re: Кассетные магнитофоны SONY

    Цитата Сообщение от Spammer Посмотреть сообщение
    почему шум подавляется не на 10 и 20 дб с долби B/C?
    Когда назовёте аппарат - станет понятно,почему идет привязка к формату NAB... при измерениях...
    Всем - не хворать!
    С уважением,Владимир.

  9. #1908
    Завсегдатай Аватар для Spammer
    Регистрация
    26.07.2006
    Адрес
    38RUS
    Сообщений
    1,696

    По умолчанию Re: Кассетные магнитофоны SONY

    sony tc k666es k777es.какие спецификации NAB?

  10. #1909
    Завсегдатай Аватар для Pilulkin
    Регистрация
    22.12.2008
    Адрес
    Москва
    Возраст
    78
    Сообщений
    3,720

    По умолчанию Re: Кассетные магнитофоны SONY

    Цитата Сообщение от Spammer Посмотреть сообщение
    sony tc k666es k777es.какие спецификации NAB?
    В вашей таблице, при измерении сигнал\шум,дана ссылка на стандарт NAB - там используется другая взвешивающая характеристика.
    P.S.Поэтому и результат будет другой.
    Всем - не хворать!
    С уважением,Владимир.

  11. #1910
    Частый гость Аватар для TheCalligrapher
    Регистрация
    10.01.2020
    Сообщений
    231

    По умолчанию Re: Кассетные магнитофоны SONY

    Цитата Сообщение от TheCalligrapher Посмотреть сообщение
    То есть все выглядит так, как будто дело в случайности и нужно просто поменять предохранители.
    Пришли предохранители. Поменял предохранители в KA5ES, дека заработала. Перевыставил все уровни - воспроизведение, запись, подмагничивание - все работает идеально. Все, кроме калибровки по внутреннему осциллятору.

    Согласно сервисному мануалу, уровни сигналов с осциллятора настраиваются по индикатору при замкнутом джампере TP801. Замкнул джампер, включил режим CAL - индикатор зашкаливает и привести его в норму не получается: не хватает диапазона соответствующих подстроечников RV604, RV605 и RV606.

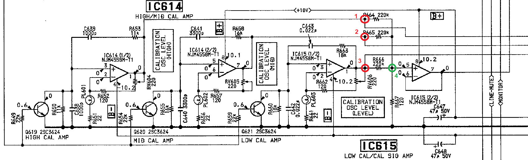
    Открыл свою исправную KA7ES и начал сравнивать уровни при замкнутом TP801 в режиме CAL. На KA7ES правильно настроенные осцилляторы генерируют уровень примерно +10 dB (2.45 Vrms) на каждой тестовой точке (1, 2 и 3 по схеме ниже). Сервисный мануал KA5ES/KA7ES не называет конкретного уровня, но другие соневские сервисные мануалы для точно таких же схем (K555ESJ и т.п.) называют именно +10 dB.

    Нажмите на изображение для увеличения. 

Название:	Screenshot (275).png 
Просмотров:	132 
Размер:	67.9 Кб 
ID:	417713

    Выставил те же самые 2.45 Vrms и в этой своей KA5ES в точках 1, 2 и 3. Диапазона подстроечников RV604, RV605 и RV606 вполне хватает, положения не крайние, примерно такие же, как в KA7ES, то есть сами осцилляторы работают нормально. Но индикатор все равно зашкаливает.

    Сравнил дальше и тут же обнаружил: уже в точке 4 исправная KA7ES дает ~0.0035 Vrms, а эта KA5ES дает аж 0.015 Vrms. Вот и причина! Потому индикаторы и зашкаливают. Но как такое возможно? Там же стоит просто обычный тупой резисторный делитель напряжения! Проверил омметром R667 прямо на плате - вижу честные 120 Ом в обоих деках, то есть он в порядке. А вот R664, R665 и R666 прямо на плате не проверишь, а выпаивать пока лень.

    Операционный буфер на выходе вроде работает правильно: что на входе, то и на выходе.

    Судя по всему эти 220 кОм резисторы (или как минимум один их них) как-то прогорели, в результате чего и у них упало сопротивление. Неужели? Так бывает? Что-то слабо верится.

    Какие еще могут быть теории? В упор не вижу, кто еще тут может влиять на уровень в точке 4. Вход операционника, судя по всему не виноват.

    Кстати, когда у меня из-за сгоревшего предохранителя отвалилась AU(-) лампочки PL601, PL602 и PL603 при включенном питании светились довольно ярко, то есть осциллятор включался и лупил вовсю. Неужели он как-то "перегрел" выходные резисторы?




    Отбой. Все нашел. Резисторы в порядке.

    Оказалось, что из этих 15 mV аж 12 mV регистрируются на нижнем терминале R667, то есть на "земле"! Дело в плохой "земле". Где-то что-то плохо контачит в разъеме, поставляющем "землю" и питание осциллятору. Сопротивление с нижнего терминала R667 на корпус составляет несколько ом (в то время как в KA7ES там ~0.1 ома). Второй конец разъема подключен к плате воспроизведения и там все в порядке: оттуда на корпус тоже доли ома. То есть проблема либо в проводе, либо в подключении на плате записи: неразъемный пластиковый порт. Шебуршание иглой в нем привело к падению сопротивления "земли" и все заработало нормально.

    Придется отпаять, переобжать (?), впаять обратно.
    Последний раз редактировалось TheCalligrapher; 20.02.2022 в 19:11.

  12. #1911
    Новичок Аватар для Yury_S
    Регистрация
    04.02.2010
    Адрес
    Нижегородская область
    Сообщений
    94

    По умолчанию Re: Кассетные магнитофоны SONY

    Добрый день всем!
    Чтобы не плодить темы, спрошу у любителей/владельцев дек Сони, может кто сталкивался.
    Сони TC KA6ES, куплена в магазине, состояние новой. Как-то я ее вообще редко включал, последний раз пол-года назад.
    А тут решил включить, ставлю кассету, режимы перемотки работают, при воспроизведении стоит на месте и скрипит, как будто подающий узел заклинил.
    Оба вала вращаются. Куда копать?

    С уважением,

  13. #1912
    Завсегдатай
    Автор темы
    Аватар для Turbo_man
    Регистрация
    06.04.2010
    Адрес
    Moscow
    Сообщений
    5,758

    По умолчанию Re: Кассетные магнитофоны SONY

    Маленький пассик управления режимами. Но там сложная замена. Разбирать почти весь ЛПМ.

  14. #1913
    Частый гость Аватар для поручик
    Регистрация
    28.03.2021
    Сообщений
    196

    По умолчанию Re: Кассетные магнитофоны SONY

    Yury_S, там много чего может быть, начните с того что каретка с головками роликами до конца доезжает вверх, если нет тогда маленький пассик менять, видео попробуйте снять, может понятно будет что там

    ---------- Сообщение добавлено 16:02 ---------- Предыдущее сообщение было 15:59 ----------

    Цитата Сообщение от Turbo_man Посмотреть сообщение
    Но там сложная замена. Разбирать почти весь ЛПМ
    если с руками все в порядке то вполне посильная задача, заодно помыть и смазать ЛПМ

  15. #1914
    Завсегдатай
    Автор темы
    Аватар для Turbo_man
    Регистрация
    06.04.2010
    Адрес
    Moscow
    Сообщений
    5,758

    По умолчанию Re: Кассетные магнитофоны SONY

    Цитата Сообщение от поручик Посмотреть сообщение
    вполне посильная задача
    Без опыта там делать нечего. Шарики потеряет и ку-ку.
    А кроме этого там полно иных нюансов.

  16. #1915
    Частый гость Аватар для поручик
    Регистрация
    28.03.2021
    Сообщений
    196

    По умолчанию Re: Кассетные магнитофоны SONY

    Turbo_man, нюансы есть согласен, а шарики с другой стороны их можно не трогать вообще если не делать полное ТО

    ---------- Сообщение добавлено 16:43 ---------- Предыдущее сообщение было 16:32 ----------

    Главное убедиться что маленький пассик двигает программную шестерню до конца и соответственно заводит каретку вверх до упора, иначе там бывают сюрпризы с работой подающего вала. На нем прижим меньше чем на приемном и при не доводе каретки провоцируется гуляние ленты на тонких и новодельных кассетах, а мы зачастую начинаем играться роликами и подтормаживанием в этом случае.

  17. #1916
    Частый гость Аватар для TheCalligrapher
    Регистрация
    10.01.2020
    Сообщений
    231

    По умолчанию Re: Кассетные магнитофоны SONY

    Цитата Сообщение от Turbo_man Посмотреть сообщение
    Маленький пассик управления режимами. Но там сложная замена. Разбирать почти весь ЛПМ.
    Зачем? Пассик управления режимами в TCM-200 прекрасно заменяется "неофициальной" процедурой без разборки ЛПМ. Придется немного покряхтеть и, возможно, сделать пару крючков из проволоки, но ничего сложного там нет.

  18. #1917
    Частый гость Аватар для поручик
    Регистрация
    28.03.2021
    Сообщений
    196

    По умолчанию Re: Кассетные магнитофоны SONY

    Цитата Сообщение от TheCalligrapher Посмотреть сообщение
    Пассик управления режимами в TCM-200 прекрасно заменяется "неофициальной" процедурой без разборки ЛПМ
    несколько раз задумывался над этим, но так и не осуществил, ну и я в целом сторонник традиционного секса

  19. #1918
    Новичок Аватар для Yury_S
    Регистрация
    04.02.2010
    Адрес
    Нижегородская область
    Сообщений
    94

    По умолчанию Re: Кассетные магнитофоны SONY

    Спасибо всем за советы. Видео снял, не знаю как выложить. Может, кто ткнет носом, где посмотреть/почитать, как до этого пассика добраться?
    И какие шарики не потерять? С соньками дела не имел, лпм накамичи bx-300 разбирал/собирал.

  20. #1919
    Частый гость Аватар для поручик
    Регистрация
    28.03.2021
    Сообщений
    196

    По умолчанию Re: Кассетные магнитофоны SONY

    проще на ютуб выложить а сюда ссылку сбросить

  21. #1920
    Завсегдатай
    Автор темы
    Аватар для Turbo_man
    Регистрация
    06.04.2010
    Адрес
    Moscow
    Сообщений
    5,758

    По умолчанию Re: Кассетные магнитофоны SONY

    Цитата Сообщение от TheCalligrapher Посмотреть сообщение
    заменяется "неофициальной" процедурой без разборки ЛПМ.
    Похоже, что вы знаете что-то, чего не знаю я.
    Тогда пусть делает. Кто же против?

Страница 96 из 115 Первая ... 869495969798106 ... Последняя

Социальные закладки

Социальные закладки

Ваши права

  • Вы не можете создавать новые темы
  • Вы не можете отвечать в темах
  • Вы не можете прикреплять вложения
  • Вы не можете редактировать свои сообщения
  •