Страница 9 из 60 Первая ... 789101119 ... Последняя
Показано с 161 по 180 из 1186

Тема: Auto. STR.400

  1. #1 Показать/скрыть первое сообщение.
    Старый знакомый
    Автор темы
    Аватар для strannicmd
    Регистрация
    28.04.2006
    Адрес
    Modena (I)
    Возраст
    62
    Сообщений
    903

    По умолчанию

    Вот, нарисовал "римейк" по трудам Норфа. Перешёл на новую элементную базу, также установил самозапуск после перегрузки..
    Может что где упустил, посмотрите.. Какие будут мнения..?
    Миниатюры Миниатюры Нажмите на изображение для увеличения. 

Название:	STR.Auto.400.GIF 
Просмотров:	19181 
Размер:	36.8 Кб 
ID:	18594  
    Последний раз редактировалось Konkere; 05.10.2007 в 02:51.

  2. #161
    Старый знакомый
    Автор темы
    Аватар для strannicmd
    Регистрация
    28.04.2006
    Адрес
    Modena (I)
    Возраст
    62
    Сообщений
    903

    По умолчанию Re: Auto. STR.400

    Цитата Сообщение от Niroborn Посмотреть сообщение
    Что там за операционник, на схеме не видно, или любой покатит?
    ТАМ это где? В защите? Сдвоенный компаратор с открытым выходом, LM393.

  3. #162
    Старый знакомый
    Автор темы
    Аватар для strannicmd
    Регистрация
    28.04.2006
    Адрес
    Modena (I)
    Возраст
    62
    Сообщений
    903

    По умолчанию Re: Auto. STR.400

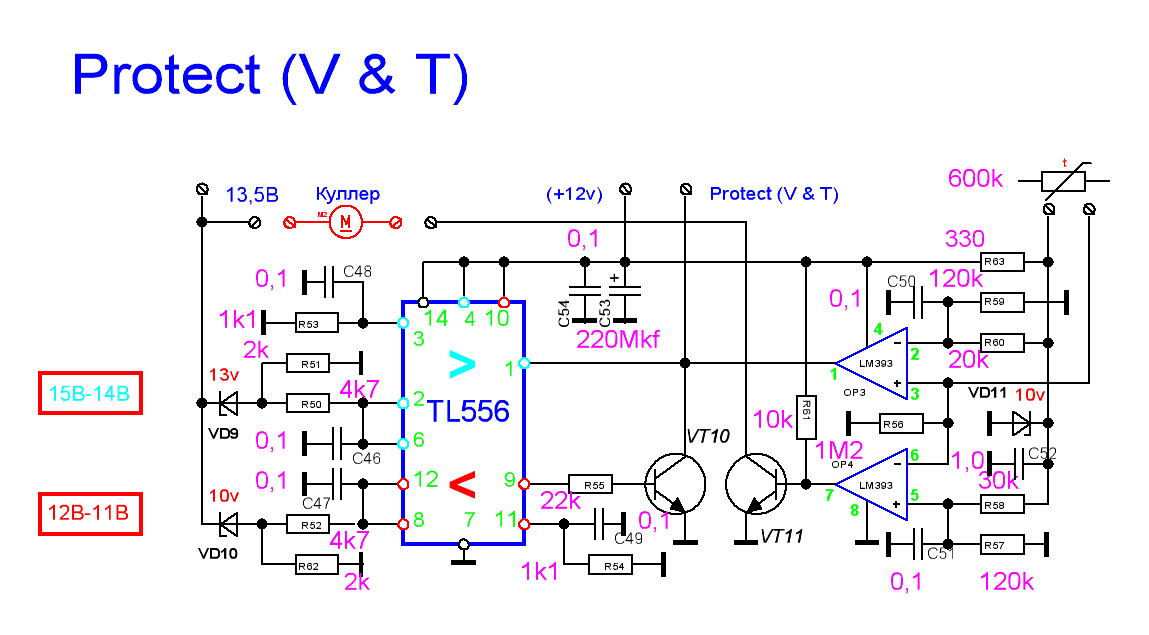
    #156 удалён мною как не актуальный. Вот вроде окончательные схемы на которые сейчас делаю разводку. По сравнению с предыдущей, убрал "понт" с отдельным питанием таймера, согласовал с МС ШИМа по другому. Разделил схемы на "Протект" и ПН. Теперь схема защит полностью "автономна" и не зависит от ПН, а значит можно применять где угодно, а в базовой схеме будет как дополнительная платка, на подобии генератора. Разводку выложу по готовности..
    Миниатюры Миниатюры Нажмите на изображение для увеличения. 

Название:	Protect (V & T).GIF 
Просмотров:	801 
Размер:	30.1 Кб 
ID:	20058   Нажмите на изображение для увеличения. 

Название:	Auto.STR.400.M.1.F.GIF 
Просмотров:	878 
Размер:	50.3 Кб 
ID:	20134  
    Последний раз редактировалось strannicmd; 17.03.2007 в 21:54.

  4. #163
    Регистрация не подтверждена
    Регистрация
    02.03.2007
    Адрес
    Воронеж
    Возраст
    69
    Сообщений
    708

    По умолчанию Re: Auto. STR.400

    Цитата Сообщение от Kortium Посмотреть сообщение
    Как уменьшить паузу?
    Уменьшить величину времязадающей емкости и одновременно
    увеличить номинал времязадающего резистора.

  5. #164
    Частый гость
    Регистрация
    30.05.2005
    Адрес
    Омск
    Сообщений
    180

    По умолчанию Re: Auto. STR.400

    Цитата Сообщение от gyrator Посмотреть сообщение
    Уменьшить величину времязадающей емкости и одновременно
    увеличить номинал времязадающего резистора.
    Полез в даташит техасовский на тл494, не нашел никакой зависимости. Полез в даташит Onsemi на 494ю нашел там график, но то ли я не понял смысл графика, то ли там ошибка в емкостях... Вот график:
    Миниатюры Миниатюры Нажмите на изображение для увеличения. 

Название:	2.gif 
Просмотров:	286 
Размер:	15.8 Кб 
ID:	20073  

  6. #165
    Регистрация не подтверждена
    Регистрация
    02.03.2007
    Адрес
    Воронеж
    Возраст
    69
    Сообщений
    708

    По умолчанию Re: Auto. STR.400

    Цитата Сообщение от Kortium Посмотреть сообщение
    Полез в даташит
    Давно не юзал эту мелкосхему, забыл все, однако.
    У нее есть компаратор регулировки паузы, который ограничивает минимальную длительность величиной порядка 5%. Это вывод4.
    Больше-можно, а меньше-фигушки.
    Хотя можно попробовать подать на этот вывод отрицательное смещение тогда, теоретически, можно уменьшить до 0.

  7. #166
    Частый гость
    Регистрация
    30.05.2005
    Адрес
    Омск
    Сообщений
    180

    По умолчанию Re: Auto. STR.400

    Не, на графиках то видно что деад-тайм зависит от конденсатора, там ведь 2 кривых, но почему-то они для одинаковой емкости приведены...

  8. #167
    Завсегдатай
    Регистрация
    20.02.2007
    Адрес
    Россия, Пермь
    Возраст
    41
    Сообщений
    1,274

    По умолчанию Re: Auto. STR.400

    Цитата Сообщение от Kortium Посмотреть сообщение
    Не, на графиках то видно что деад-тайм зависит от конденсатора, там ведь 2 кривых, но почему-то они для одинаковой емкости приведены...
    Посмотрите в датащите на КР1156ЕУ2, там тоже два графика есть, там деттайм может быть менее 100нс, при 0,47нф и 3k<R<100k.

  9. #168
    Старый знакомый
    Автор темы
    Аватар для strannicmd
    Регистрация
    28.04.2006
    Адрес
    Modena (I)
    Возраст
    62
    Сообщений
    903

    По умолчанию Re: Auto. STR.400

    Цитата Сообщение от gyrator Посмотреть сообщение
    Хотя можно попробовать подать на этот вывод отрицательное смещение тогда, теоретически, можно уменьшить до 0.
    Наоборот, положительное.. Я делал "мягкое включение" на этой МС подключением электролитика на опорное и 4 ногу.. А скважность можно вручную установить следующим образом: подстроечник между опорным и корпусом, 4 нога на средний подстроечника..

  10. #169
    Новичок Аватар для Bender
    Регистрация
    28.12.2005
    Адрес
    Красногорск
    Сообщений
    1,595

    По умолчанию Re: Auto. STR.400

    Цитата Сообщение от gyrator Посмотреть сообщение
    Хотя можно попробовать подать на этот вывод отрицательное смещение тогда, теоретически, можно уменьшить до 0.
    https://forum.vegalab.ru/attachment....5&d=1153290633 работает, проверено на практике.

  11. #170
    Частый гость
    Регистрация
    08.10.2006
    Адрес
    Челябинск
    Возраст
    62
    Сообщений
    128

    По умолчанию Re: Auto. STR.400

    Цитата Сообщение от Bender Посмотреть сообщение
    https://forum.vegalab.ru/attachment....5&d=1153290633 работает, проверено на практике.
    Прикольная схема А чем земля с тремя черточками отличается от жирной земли?

  12. #171
    Регистрация не подтверждена
    Регистрация
    02.03.2007
    Адрес
    Воронеж
    Возраст
    69
    Сообщений
    708

    По умолчанию Re: Auto. STR.400

    Цитата Сообщение от strannicmd Посмотреть сообщение
    Наоборот, положительное..
    Верно. Сбрехнул, прошу пардону.

    Добавлено через 7 минут
    Цитата Сообщение от strannicmd;
    А вот об этом по подробней плз.

    http://foto.radikal.ru/f.aspx?i=7d12...cd7b806afc3b74

    З.Ы. Гальванику можно получить питая СУ от вторички, а запуск
    преобразователя осуществить от вспомогательного генератора, либо в режиме самовозбуда с последующей синхронизацией от СУ.
    Последний раз редактировалось gyrator; 17.03.2007 в 12:43. Причина: Добавлено сообщение

  13. #172
    Старый знакомый
    Автор темы
    Аватар для strannicmd
    Регистрация
    28.04.2006
    Адрес
    Modena (I)
    Возраст
    62
    Сообщений
    903

    По умолчанию Re: Auto. STR.400

    Цитата Сообщение от Bender Посмотреть сообщение
    работает, проверено на практике.
    Гдето видел это, но не помню где... Разясните, плз. как это работает (или как должно работать..).

  14. #173
    Новичок Аватар для Bender
    Регистрация
    28.12.2005
    Адрес
    Красногорск
    Сообщений
    1,595

    По умолчанию Re: Auto. STR.400

    strannicmd, выкладывал этот эскизик в ветке про D класс на 494. Отрицательным смещением относительно 7 вывода, компенсируем внутренний источник 0.2в, ограничивающий максимальный duty cycle контроллера на уровне 90%. Таким образом на 494 можно получить DT=0. Решение неоднакратно применялось на практике.

  15. #174
    Старый знакомый
    Автор темы
    Аватар для strannicmd
    Регистрация
    28.04.2006
    Адрес
    Modena (I)
    Возраст
    62
    Сообщений
    903

    По умолчанию Re: Auto. STR.400

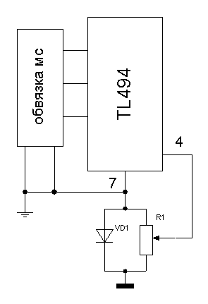
    Значок "заземления" на "обвязки МС" и значок корпуса с катода диода.. Это корпуса до и после ПН? или нечто другое?

  16. #175
    Новичок Аватар для Bender
    Регистрация
    28.12.2005
    Адрес
    Красногорск
    Сообщений
    1,595

    По умолчанию Re: Auto. STR.400

    Честно говоря не помню, что послужило прициной поставить 2 разных земли.
    Суть в том, что землю мс (7 ногу) искусственно задираем относительно земли ПН (входной части) на величину ~0.7В (падение на переходе диода) ну и резюком можем задать отрицательное смещение на 4 ногу.
    Имхо самый простой финт по уменьшению DT, но имхо так же сейчас не вижу смысла извращаться с 494, когда кругом полно куда более продвинутых ШИМ контроллеров.

  17. #176
    Старый знакомый
    Автор темы
    Аватар для strannicmd
    Регистрация
    28.04.2006
    Адрес
    Modena (I)
    Возраст
    62
    Сообщений
    903

    По умолчанию Re: Auto. STR.400

    В #163 в схеме ПН, TL431 был включён "наоборот". Исправлено

    Добавлено через 18 часов 56 минут
    Цитата Сообщение от gyrator Посмотреть сообщение
    Верно. Сбрехнул, прошу пардону
    Да нет, это я тормознул, положительное что-б увеличить дедтайм, отрицательное чтобы уменьшить.. Дико извиняюсь..
    Последний раз редактировалось strannicmd; 18.03.2007 в 16:54. Причина: Добавлено сообщение

  18. #177
    Завсегдатай
    Регистрация
    20.02.2007
    Адрес
    Россия, Пермь
    Возраст
    41
    Сообщений
    1,274

    По умолчанию Re: Auto. STR.400

    Мне кажется защита по недонапряжению на 11В не очень удобна, потому что ночью зимой на светофоре при включенном поворотнике напруга в борт сети частенько падает ниже 11В и не хочется чтоб усь отрубался. Мне кажется что встроенная в 3825 защита (9,2В) будет достаточной, а вот защита от перенапряжения очень уместна, хотя мне трудно представить ситуацию когда напряжение в борт сети с нагрузкой будет выше 14 вольт (имеется ввиду только моя машина). Соответственно можно исползовать TL555 вместо 556. Или я неправ?

  19. #178
    Старый знакомый
    Автор темы
    Аватар для strannicmd
    Регистрация
    28.04.2006
    Адрес
    Modena (I)
    Возраст
    62
    Сообщений
    903

    По умолчанию Re: Auto. STR.400

    Всё настраивается по желанию и вкусу каждого. Можете упростить, если считаете нужным.. Комуто хочется одно, комуто другое.. Нет проблем.. Я ведь описал как всё должно работать.. Нужно меньше 11в, ради бога.., "нижний" стабилитрон берите на 9В и будет Вам 10в порог..
    Вот разводка генератора для стаб. ПН в Lay 5.
    Вложения Вложения

  20. #179
    Старый знакомый
    Автор темы
    Аватар для strannicmd
    Регистрация
    28.04.2006
    Адрес
    Modena (I)
    Возраст
    62
    Сообщений
    903

    По умолчанию Re: Auto. STR.400

    Sprint Layout 5.0 русская версия, 5027 кб
    http://www.qrz.ru/shareware/redirect.phtml?ID=457

  21. #180
    Регистрация не подтверждена
    Регистрация
    02.03.2007
    Адрес
    Воронеж
    Возраст
    69
    Сообщений
    708

    По умолчанию Re: Auto. STR.400

    Цитата Сообщение от strannicmd Посмотреть сообщение
    отрицательное чтобы уменьшить..
    Дааа.., Бывает. Я лопухнулся глянув в "липовую" схему после твоего замечания. На самом деле все прописано:

    Супостаты дают такую формулу для паузы:
    Последний раз редактировалось gyrator; 19.03.2007 в 00:11.

Страница 9 из 60 Первая ... 789101119 ... Последняя

Социальные закладки

Социальные закладки

Ваши права

  • Вы не можете создавать новые темы
  • Вы не можете отвечать в темах
  • Вы не можете прикреплять вложения
  • Вы не можете редактировать свои сообщения
  •