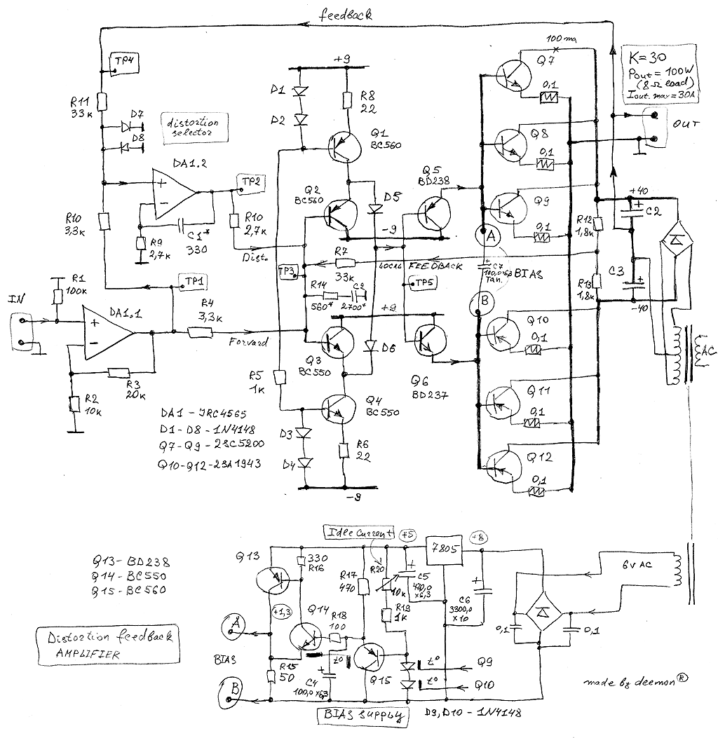
Интересно , кто-нибудь пробовал экспериментировать с такой топологией УНЧ ? Схема взята отсюда , исключены только цепи защиты : https://forum.vegalab.ru/showthread....B5%D1%82%D0%B8 , я её делал для регенератора сети , отсюда и такой мощный выход .... но потом , ради опыта , попробовал этот усилитель и для музыки . Результат оказался на удивление приличным и заслуживающим дальнейшей разработки , но сейчас , из-за нехватки времени , я эту тему пока отложил . Сейчас мне интересно чисто теоретически подумать - насколько такая схема перспективна для высоколинейного УНЧ ? Что скажут любители схемотехники ?![]()
Принцип действия ( УНЧ без УН ) , как я думаю , дополнительно описывать не надо - я про это писал в той теме про регенератор , да притом тут и из схемы всё видно . Можно только сказать , что выходной каскад тут является "вывернутым" вариантом моего параллельного каскада с параллельным смещениемПараллельное плавающее смещение здесь выполняет всё те же функции , что и в том усилителе , кроме только улучшения использованния питания - тут ВК и сам по себе работает до полного размаха питающих напряжений , так как выходные транзисторы тут работают не с ОК , а с ОЭ , но вот жёсткая связь выходных транзисторов и тут помогает улучшить параметры каскада , и особенно на ВЧ .
Симметричные пути заряда и разряда паразитных ёмкостей выходных транзисторов значительно уменьшают искажения ВК на высоких частотах , и кроме того , даже при жёстком возбуждении всего усилителя тут нет опасности выгорания транзисторов из-за сквозного тока - просто потому , что пока не закроется одно плечо выхода , другое открыться не может . И действительно - практика это подтверждает . Хотя сам усилитель получился достаточно устойчивым и не возбуждается даже на сложных нагрузках - при принудительном его возбуждении ( до полного размаха , с жёстким клиппингом ) не было зафиксировано ни одного отказа выходных транзисторов . Схема получилась "неубиваемая" , что и было одной из целей при разработке . Так что с надёжностью тут проблем нет .
Но сейчас меня сейчас больше интересует - до какого уровня можно снижать искажения в такой топологии УНЧ ? Я точных измерений не проводил пока , но ожидаемый уровень искажений в звуковом диапазоне тут должен быть порядка 0,01% , и я сейчас размышляю на тему - какие меры тут можно ещё принять для его дальнейшего снижения ? Насколько эта схема вообще перспективна в этом смысле ? Я сам хотя и не поклонник "ультралинейного" усиления , и сам слушаю без-ООСный гибрид , но в данном случае тут теоретический интерес .... просто с точки зрения схемотехники , скажем так . Например , можно подумать насчёт увеличения глубины ООС за счёт усложнения цепей коррекции и установки более совершенных ОУ , также у меня есть идея насчёт введения ещё одного селектора искажений и подачи этих искажений уже не в ВК , а прямо на выход в противофазе , и есть несколько мыслей , как это можно сделать .... кроме того , если схема покажет себя хорошо в работе - можно подумать и насчёт её упрощения . Разумеется , с сохранением качества и надёжности . Но , в принципе , и в таком виде звук получается уже неплохой . Я ожидал какой-то сухой "стерильности" звучания , но нет - напротив , звук оказался довольно "живой" и приятный . Возможно , тут сказывается отсутствие резких коммутационных искажений на ВЧ в выходном каскаде , благодаря всё той же "параллельности" и плавающему смещению , может быть и так .





Социальные закладки